支气管堵塞器注册审查指导原则
文档下载:支气管堵塞器注册审查指导原则(2024年第19号)
核心要点速览
支气管堵塞器是胸外科单肺通气的重要工具。本指导原则明确了其注册申报的技术要求,主要关注点如下:
- 适用范围与分类:明确分类编码为08-06-07,管理类别为II类,通常由导管、球囊、指示球囊等组成。
- 注册单元划分:主要材料不同(如球囊材质差异)导致性能指标不同时,应划分为不同的注册单元。
- 性能指标要求:重点验证球囊的物理机械性能,包括气密性、最大充气量、额定爆破压及疲劳测试。
- 免临床评价路径:确认该产品属于免临床目录,重点在于提交与目录产品及已上市同类产品的详细对比说明。
- 生物相容性:作为与黏膜短期接触的器械,需进行细胞毒性、刺激和致敏试验。
专家解读
在进行支气管堵塞器注册申报时,企业首先要关注的是球囊的安全性。作为封堵支气管的核心部件,球囊在高压下的爆破风险和长时间充气后的疲劳失效是审查重点。指导原则明确要求,必须对球囊的“额定爆破压”和“疲劳”性能进行严格验证,并在医疗器械产品技术要求中设定明确的指标。
在医疗器械注册单元划分上,如果企业同时开发了乳胶球囊和聚氨酯球囊的产品,由于材料特性差异巨大(尤其是致敏性风险),建议拆分为两个注册单元。此外,如果产品集成了特殊的引导装置(如可视引导管),则可能涉及有源器械的分类界定,需参考医疗器械产品目录仔细甄别。
对于医疗器械临床评价环节,作为免临床目录产品,对比说明的撰写是关键。企业需要详细对比申报产品与已上市同类产品在球囊充盈体积、导管外径及材质上的异同。如果申报产品采用了新型的低压高容球囊设计,虽然原理相同,但可能需要补充更多的台架试验数据来证明其对气道黏膜的压迫风险处于可控范围内。
最后,医疗器械说明书中必须明确润滑剂的使用建议。指导原则特别指出,医护人员应根据产品材质正确选择润滑剂,并在风险管理中考虑到不兼容润滑剂可能导致的球囊破裂风险。如果您在生物学评价或灭菌工艺验证上存在疑问,欢迎联系钦思咨询。
指导原则原文
支气管堵塞器注册审查指导原则
本指导原则旨在指导注册申请人对支气管堵塞器注册申报资料的准备及撰写,同时也为技术审评部门审评注册申报资料提供参考。
本指导原则是对支气管堵塞器的一般要求,申请人应依据产品的具体特性确定其中内容是否适用。若不适用,需具体阐述理由及相应的科学依据,并依据产品的具体特性对注册申报资料的内容进行充实和细化。
本指导原则是供注册申请人和技术审评人员使用的指导性文件,但不包括审评审批所涉及的行政事项,亦不作为法规强制执行,应在遵循相关法规的前提下使用本指导原则。如果有能够满足相关法规要求的其他方法,也可以采用,但是需要提供详细的研究资料和验证资料。
本指导原则是在现行法规和标准体系以及当前认知水平下制定,随着法规和标准的不断完善,以及科学技术的不断发展,相关内容也将适时进行调整。本指导原则中相关内容均应执行最新版本的标准。
一、适用范围
本指导原则适用于《医疗器械分类目录》中管理类别为Ⅱ类的支气管堵塞器,分类编码为08-06-07(呼吸、麻醉和急救器械-呼吸、麻醉用管路、面罩-支气管堵塞器)。产品通常由导管、导管座、球囊、指示球囊、多路气道转换接头等器件组成。球囊供插入支气管插管充起后可以临时封堵支气管。
二、注册审查要点
(一)监管信息
申请人应提供申请表、产品列表、既往沟通记录、主文档授权信以及其它管理信息。
1.产品名称
产品命名应符合《医疗器械通用名称命名规则》的要求,例如:一次性使用支气管堵塞器、一次性使用支气管封堵器。
2.分类编码
根据《医疗器械分类目录》,申报产品属于子目录08-呼吸、麻醉和急救器械,一级产品类别06-呼吸、麻醉用管路、面罩,二级产品类别07-支气管堵塞器。
3.注册单元划分的原则和实例
注册单元的划分应参照《医疗器械注册单元划分指导原则》,以产品的技术原理、结构组成、性能指标和适用范围等因素为划分依据。
例如:产品的主要材料不同,导致产品性能指标不同时,原则上划分为不同注册单元。
(二)综述资料
1.概述
1.1依据医疗器械分类目录,支气管堵塞器管理类别为Ⅱ类医疗器械,分类编码为08-06-07(呼吸、麻醉和急救器械-呼吸、麻醉用管路、面罩-支气管堵塞器)。
1.2产品命名应符合《医疗器械通用名称命名规则》和国家标准、行业标准中的通用名称要求,如:一次性使用支气管堵塞器。
2.产品描述
2.1产品的结构和组成
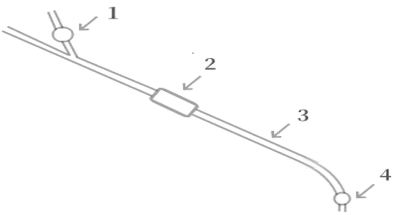
支气管堵塞器产品通常由导管、导管座、球囊、指示球囊、多路气道转换接头等器件组成。球囊供插入支气管插管充起后可以临时封堵支气管。通常为聚酰胺(PA)材质。
2.2产品工作原理
支气管堵塞器用注射器通过充气腔向球囊内注入一定体积的气体,球囊充起后可临时封堵支气管,达到阻断左肺气道或右肺气道的目的。注射器拔下后,通过一个单向阀关闭阀门防止球囊气体外泄,医生可通过指示球囊的瘪下或鼓起的状态来监视球囊是否处在正常工作状态。
1-指示球囊;2-多路气道转换接头;3-导管;4-球囊
图1 支气管堵塞器结构示意图
3.型号规格
说明产品的型号规格及划分依据,明确各型号规格的区别。
4.包装说明
说明产品的包装层次,写明产品各层次包装(初包装、中包装、大包装)的信息,包括包装所用材料及包装所载明的信息及样图;此外还应当说明无菌屏障系统的信息。
5.适用范围和禁忌证
5.1适用范围:临床上主要用于需要单肺通气的手术中,插入患者的支气管内,达到阻断左肺气道或右肺气道的目的。
5.2禁忌证:禁忌证至少包含对产品组成成分过敏者禁用,气道急性炎症、急性咽炎、喉头水肿、喉头下粘膜血肿、胸主动脉压迫气管、插管损伤引起严重出血、颈椎损伤等禁用。
6.参考的同类产品或前代产品
提供同类产品(国内外已上市)或前代产品(如有)的信息,阐述申请注册产品的研发背景和目的。对于同类产品,说明选择其作为研发参考的原因。申报产品应与已在中国境内上市的同类产品或前代产品进行对比分析,应详述产品间异同。
7.不良事件情况(如适用)
应当提交申报产品的上市、销售、不良事件和召回等相关情况分析资料。
(三)非临床资料
1.产品风险管理资料
1.1风险分析方法
1.1.1在对风险的判定及分析中,要考虑合理的可预见的情况,它们包括:正常使用条件下和非正常使用条件下;
1.1.2风险判定及分析应包括:对于患者的危害、对于操作者的危害和对于环境的危害;
1.1.3风险形成的初始原因应包括:原材料选择不当,设计、生产风险,运输与防护不当等;人为因素包括不合理的操作;适用错误;综合危害;环境条件;
1.1.4风险判定及分析考虑的问题包括:产品原材料生物学危害;产品质量是否会导致使用中出现不正常结果;操作信息,包括警示性语言、注意事项以及使用方法的准确性等。
1.2风险分析清单
支气管堵塞器产品的风险管理报告应符合GB/T 42062《医疗器械风险管理对医疗器械的应用》的有关要求,审查要点包括:
1.2.1产品安全性特征判定是否准确(依据YY/T 1437);
1.2.2危害分析是否全面(依据GB/T 42062附录C);
1.2.3风险可接受准则,降低风险的措施及采取措施后风险的可接受程度,是否有新的风险产生。
根据GB/T 42062《医疗器械风险管理对医疗器械的应用》对“支气管堵塞器”已知或可预见的风险进行判定,产品在进行风险分析时至少应包括以下的主要危害(见附表),注册申请人还应根据自身产品特点确定其他危害。针对产品的各项风险,注册申请人应采取应对措施,确保风险降到可接受的程度。
2.产品技术要求及检验报告
产品技术要求的制定应符合《医疗器械产品技术要求编写指导原则》的要求。申请人应依据产品的技术特征和临床使用情况来确定产品安全有效的技术指标和检验方法。本指导原则给出支气管堵塞器需要考虑的产品基本技术性能指标,申请人根据自身产品的技术特点和用途制定相应的性能指标,且性能指标不得低于强制性国家标准、行业标准。
2.1产品型号/规格及其划分说明
明确产品型号/规格,阐明各型号/规格间的区别及划分说明,型号/规格的表述应与全部注册申报资料保持一致,并提供结构示意图。
2.2性能指标
支气管堵塞器产品性能指标至少应包括以下几点:
2.2.1外观及尺寸(尺寸至少包括管路长度和直径、球囊直径等);
2.2.2接头;
2.2.3单向阀;
2.2.4充气管;
2.2.5指示球囊;
2.2.6球囊气密性;
2.2.7球囊最大充气量;
2.2.8球囊额定爆破压;
2.2.9球囊疲劳;
2.2.10密闭性;
2.2.11连接牢固度;
2.2.12弯曲角;
2.2.13无菌;
2.2.14化学性能;
根据不同材料特性,由企业决定具体的化学性能要求(如:酸碱度、还原物质、蒸发残渣、重金属等,具体指标的选择可以参照相应的国家、行业标准及已上市同类产品情况)。用环氧乙烷灭菌的产品应规定环氧乙烷残留量的要求。
2.2.15根据产品宣称的技术特点制定的其他性能要求。
2.3检验报告
2.3.1同一注册单元内所检验的产品应当是能够代表本注册单元内其他产品安全性和有效性的典型产品,其功能最齐全、或结构最复杂、或风险最高。
2.3.2典型产品的确定可以通过比较同一注册单元内所有产品的技术结构、性能指标等相应资料,说明其能够代表本注册单元内其他产品的安全性和有效性。
3.研究资料
3.1原材料控制
说明原材料的选择依据,明确产品的起始材料,列明产品生产过程中由起始材料至终产品所需全部材料(包括加工助剂等)的基本信息,如名称、供应商、符合的标准(如适用)等。产品组成材料可以列表的形式提供,并与产品结构图示中标识的部件一一对应。若产品组成材料为混合物的,应明确各组分及其比例。
原材料应具有稳定的供货渠道以保证产品质量,所用原材料的质量控制标准和研究资料。
对于首次应用于医疗器械的新材料,应提供该材料适合用于产品预期用途的相关研究资料,可参考提供该材料适于人体使用的相关研究资料,如新材料的生物相容性研究资料,毒理学分析,可沥滤物分析,临床应用史等。
3.2产品性能研究
应给出技术要求中各性能指标的设定依据、所采用的标准或方法、采用的原因及理论基础。
3.3生物学特性研究
按照GB/T 16886.1《医疗器械生物学评价第1部分:风险管理过程中的评价与试验》《关于印发医疗器械生物学评价和审查指南的通知》要求开展生物相容性评价,生物相容性评价研究资料应当包括:生物相容性评价的依据、项目和方法;产品所用材料的描述及与人体接触的性质和时间;实施或豁免生物学试验的理由和论证;对于现有数据或试验结果的评价。
本指导原则中的支气管堵塞器属于与黏膜短期接触的表面接触器械,若开展生物学试验进行评价,应按照GB/T 16886.1《医疗器械生物学评价第1部分:风险管理过程中的评价与试验》标准进行评价,至少应进行细胞毒性试验、刺激试验、致敏反应试验等。
3.4灭菌工艺研究
应明确灭菌工艺(方法和参数)及其选择依据和无菌保证水平(SAL),并提供灭菌确认报告,无菌保证水平(SAL)应保证达到1×10-6。灭菌过程的选择应至少考虑以下因素:产品与灭菌过程的适应性;包装材料与灭菌过程的适应性;灭菌对产品安全有效性的影响。
若灭菌使用的方法容易出现残留,如环氧乙烷灭菌,应当明确残留物信息及采取的处理方法,并提供环氧乙烷解析的研究资料。
3.5产品稳定性
3.5.1货架有效期
货架有效期包括产品有效期和包装有效期。产品有效期研究可采用加速老化或实时老化的研究,加速老化研究可参考YY/T 0681.1《无菌医疗器械包装试验方法第1部分:加速老化试验指南》。有效期验证方案中应设定验证项目、验证方法及判定标准。验证项目包括产品自身性能验证和包装系统性能验证两方面。
3.5.2包装及包装完整性
应明确产品的内包装形式并确保包装在宣称的运输储存条件下,在产品有效期内能够对产品起到防护作用并保持产品清洁。产品包装验证可依据有关标准进行(如GB/T19633系列标准),提交产品的包装验证报告。包装材料的选择应考虑以下因素:包装材料的物理化学性能;包装材料所能提供的物理、化学和微生物屏障保护;包装材料与成型和密封过程的适应性;包装材料与产品的适应性;包装材料与标签系统的适应性;包装材料与贮存运输过程的适合性;包装有效期。包装验证的资料内容应与包装说明中给出的信息相符。
3.6其他资料
支气管堵塞器已列入《免于临床评价医疗器械目录》(以下简称目录),申请人需提交申报产品相关信息与《目录》所述内容的对比资料和申报产品与已获准境内注册的《目录》中医疗器械的对比说明。具体可按照《列入免于临床评价医疗器械目录产品对比说明技术指导原则》要求提交。
(四)临床评价资料
支气管堵塞器已列入《免于临床评价医疗器械目录》,注册申请人无需提交临床评价资料。若无法证明申报产品与《目录》产品具有等同性,则应按照《医疗器械临床评价技术指导原则》提交临床评价资料。
(五)产品说明书和标签样稿
产品说明书和标签的编写应符合《医疗器械说明书和标签管理规定》和相关标准中的要求,同时还应注意以下几点(不限于此):
1.使用方法中应明确由专业医师使用,同时说明产品使用方法。
2.禁忌证至少包含对产品组成成分过敏者禁用,气道急性炎症、急性咽炎、喉头水肿、喉头下粘膜血肿、胸主动脉压迫气管、插管损伤引起严重出血、颈椎损伤等禁用。
3.注意事项一般应有以下内容:依据规格大小选择适用人群,产品在医疗机构适用、对产品允许放置人体的时间进行说明、临床医护人员应根据产品的结构和材质正确选择润滑剂、使用者必须接受过相关培训等内容。
(六)质量管理体系文件
质量管理体系文件应符合国家药品监督管理局《关于公布医疗器械注册申报资料要求和批准证明文件格式的公告》中对质量管理体系文件的要求,至少应包括但不限于以下内容:
1.生产工艺过程及过程控制点
注册申请人应根据申报产品的实际情况,以流程图的形式对生产工艺过程进行详细描述,注明关键工序和特殊过程,并进行简单说明。关键工序和特殊过程因生产企业不同可能会存在差异。应说明生产工艺过程质量控制点,包括关键工序和特殊过程的控制规定和方法。
2.研制、生产场地情况概述
应结合场地平面图详细介绍研发、生产、检验、仓库场地情况。有多个研制、生产场地,应介绍每个研制、生产场地的实际情况。生产场地应与生产规模相适应。生产场地的区域划分应与生产工艺流程相符合。
3.根据上述质量管理体系程序,申请人应当形成相关质量管理体系文件和记录。应当提交下列资料,在质量管理体系核查时进行检查。
3.1申请人基本情况表。
3.2申请人组织机构图。
3.3生产企业总平面布置图、生产区域分布图。
3.4生产过程有净化要求的,应当提供有资质的检测机构出具的环境检测报告(附平面布局图)复印件。
3.5产品生产工艺流程图,应当标明主要控制点与项目及主要原材料、采购件的来源及质量控制方法。
3.6主要生产设备和检验设备(包括进货检验、过程检验、出厂最终检验所需的相关设备;在净化条件下生产的,还应当提供环境监测设备)目录。
3.7质量管理体系自查报告。
3.8如适用,应当提供拟核查产品与既往已通过核查产品在生产条件、生产工艺等方面的对比说明。
三、参考文献
[1]中华人民共和国国务院.医疗器械监督管理条例:中华人民共和国国务院令第739号[Z].
[2]国家市场监督管理总局.医疗器械注册与备案管理办法:国家市场监督管理总局令第47号[Z].
[3]国家食品药品监督管理局.医疗器械说明书和标签管理规定:国家食品药品监督管理总局令第6号[Z].
[4]国家食品药品监督管理局.医疗器械通用名称命名规则:国家食品药品监督管理总局令第19号[Z].
[5]国家食品药品监督管理局.医疗器械分类目录:国家食品药品监督管理总局公告2017年第104号[Z].
[6]国家食品药品监督管理局.医疗器械注册单元划分指导原则:总局通告2017年第187号[Z].
[7]国家药品监督管理局.医疗器械临床评价技术指导原则:国家药监局通告2021年第73号[Z].
[8]国家药品监督管理局.医疗器械注册申报资料要求和批准证明文件格式:国家药监局公告2021年第121号[Z].
[9]YY 0285.4-2017,血管内导管一次性使用无菌导管第4部分:球囊扩张导管[S].
[10]GB/T 14233.2-2005,医用输液、输血、注射器具检验方法第2部分:生物学试验方法[S].
[12]GB/T 16886.1-2022,医疗器械生物学评价第1部分:风险管理过程中的评价与试验[S].
[13]GB/T 16886.5-2017,医疗器械生物学评价第5部分:体外细胞毒性试验[S].
[14]GB/T 16886.10-2017,医疗器械生物学评价第10部分:刺激与皮肤致敏试验[S].
[15]GB 18279.1-2015, 医疗保健产品灭菌环氧乙烷第1部分:医疗器械灭菌过程的开发、确认和常规控制的要求[S].
[16]GB 18281.2-2015, 医疗保健产品灭菌生物指示物第2部分:环氧乙烷灭菌用生物指示物[S].
[17]GB/T 19633.1-2015, 最终灭菌医疗器械包装第1部分:材料、无菌屏障系统和包装系统的要求[S].
[18]GB/T 19633.2-2020, 最终灭菌医疗器械包装第2部分:成形、密封和装配过程确认的要求[S].
[19]YY/T 0466.1-2016,医疗器械用于医疗器械标签、标记和提供信息的符号第1部分:通用要求[S].
[20]GB/T 42062-2022,医疗器械风险管理对医疗器械的应用[S].附表
产品主要危害
危害类型 可预见的事件序列 可能产生的危害 生物学和化学危害 生物污染 包装破损或使用时操作不规范造成生物污染 产品引入致病菌,引起患者身体不适或感染 环境污染 生产环境污染产品,如外来的粉尘、其他杂质等 引起患者身体不适或感染 生物相容性 采用了不合格原辅材料;生产引入了外来物质 引起患者局部过敏或刺激 化学危害 生产工艺控制不严
不正确的配方(化学成分)
未按照工艺要求配料
添加剂或助剂使用比例不正确造成毒性危害 可用性 由不熟练/未经培训的人员使用 操作不熟练、操作失误 无法保证使用安全性
导致操作失误,导致无法达到满意的效果使用产品时未按照说明书中操作方法操作 错误操作;未采取相应的保护措施 无法保证使用安全性
导致操作失误,导致无法达到满意的效果忽视说明书中禁忌证、警示信息等内容 患者在使用过程中出现过敏 引起患者过敏 不正确的标签 外部标记不全面、标记不正确或不能够清楚易认 错误使用;产品辨别错误 不正确的说明书;说明书上的注意事项、禁忌证不全 缺少详细的使用方法、必要的警告说明 错误操作;无法保证使用安全有效性 功能性 对医疗器械寿命终止缺少适当的决定 没有标识产品有效期 超出有效期的产品被使用,可能会引起患者细菌感染,或因材料老化产生而导致产品性能不符合要求 不适当的产品包装(产品污染和/或变性) 生产、运输、搬运和储存过程中导致包装破损;包装封口不严密;包装材料选择不适当;使用前未检查产品包装状态 产品使用性能无法得到保证 再次使用和/或不适当的再次使用 产品多次使用,未说明具体操作方法 出现细菌感染现象
