神经和肌肉刺激器用体内电极注册审查指导原则
文档下载:神经和肌肉刺激器用体内电极注册审查指导原则(2024年第19号)
核心要点速览
本指导原则针对用于盆底肌功能评估和康复训练的体内电极(阴道/直肠电极)提出了明确的注册要求。主要关注点如下:
- 适用范围限定:仅适用于配合神经和肌肉刺激器或生物反馈设备使用的附件电极,不包含电针、毫针等中医器械。
- 注册单元划分:按使用形式(一次性/重复使用)和作用部位(阴道/直肠)严格划分。
- 性能指标参考:必须符合YY/T 0868及YY 9706.210/240等相关标准,重点验证导通电阻、绝缘阻抗及生物相容性。
- 临床评价路径:不属于免临床目录,需进行同品种比对或开展临床试验;重点关注与主机的适配性及材料安全性。
- 特殊风险控制:重复使用产品需进行使用稳定性研究(插拔、弯折试验)及消毒灭菌耐受性验证。
专家解读
在进行神经和肌肉刺激器用体内电极注册申报时,企业首先要厘清产品的分类属性。指导原则明确指出,该产品属于09-01-05分类,管理类别为II类。但需注意,如果电极集成了压力传感器功能,则不适用本原则,需参考其他相关文件。
在医疗器械注册单元划分上,企业常犯的错误是将阴道电极和直肠电极作为一个单元申报。指导原则明确规定,不同作用部位应分别申报。此外,一次性使用和重复使用的电极因风险控制措施截然不同,也必须分开申报。
对于医疗器械产品技术要求的编写,除了常规的尺寸和外观外,“导通电阻”和“隔离电阻”是核心指标。企业需依据YY/T 0868设定合理的阻抗范围,并提供验证资料。对于重复使用的电极,还需在技术要求中明确其耐受消毒灭菌后的性能稳定性指标。
在医疗器械临床评价环节,由于该产品不在免临床目录中,企业通常选择同品种比对路径。比对的重点在于电极的导电材料、表面积、形状设计以及与主机的连接方式。如果申报产品采用了新型的导电橡胶或特殊的双通道设计,可能需要补充更详细的台架试验数据来证明其等同性。
最后,医疗器械说明书中必须明确适配的主机信息,并对患者使用进行详细指导(如放置位置、深度)。对于含有DEHP增塑剂的PVC材料电极,必须在说明书中进行警示。如果您在生物相容性评价(尤其是阴道/直肠刺激试验)或可用性研究上存在疑问,欢迎联系钦思咨询。
指导原则原文
神经和肌肉刺激器用体内电极注册审查指导原则
本指导原则旨在指导注册申请人对神经和肌肉刺激器用体内电极(以下简称刺激器用体内电极)注册申报资料的准备及撰写,同时也为技术审评部门审评注册申报资料提供参考。
本指导原则是对刺激器用体内电极注册申报资料的一般要求,申请人应依据产品的具体特性确定其中的内容是否适用。若不适用,需具体阐述其理由及相应的科学依据,并依据具体的产品特性对注册申报资料的内容进行充实和细化。
本指导原则是供注册申请人和技术审评人员使用的指导性文件,但不包括注册审批所涉及的行政事项,亦不作为法规强制执行,应在遵循相关法规的前提下使用本指导原则。如果有能够满足相关法规要求的其他方法,也可以采用,但是需要提供详细的研究资料和验证资料。
本指导原则是在现行法规和标准体系以及当前认知水平下制定的,随着法规和标准的不断完善,以及科学技术的不断发展,相关内容也将适时进行调整。
一、适用范围
本指导原则适用于通过作用于人体腔道(阴道和直肠)内,将主机发出的电刺激电流传导至人体,或将人体局部的电信号反馈至主机的神经和肌肉刺激器用体内电极。根据《医疗器械分类目录》,该类产品分类编码为09-01-05(物理治疗器械-电疗设备/器具-神经和肌肉刺激器用电极),管理类别为II类。
本指导原则仅适用于符合YY 9706.210规定、用于盆底肌功能评估和康复训练的神经和肌肉刺激器类设备或生物反馈治疗类设备使用的附件电极。电针、毫针、中医探穴功能的电极不适用于本指导原则,带有压力信号传导功能的刺激器用体内电极、与中频电疗设备配合使用的刺激器用体内电极、与电超声治疗仪设备配合使用的刺激器用体内电极也不适用于本指导原则,但可参照本指导原则适用的相关条款执行。
二、注册审查要点
(一)监管信息
1.产品名称
产品的命名应符合《医疗器械通用名称命名规则》的要求,采用《医疗器械分类目录》《物理治疗器械通用名称命名指导原则》或国家标准、行业标准中的通用名称,例如:一次性使用阴道电极、阴道电极、一次性使用无菌阴道电极、直肠电极等,核心词尽量避免使用“探头”“训练器”“训练装置”等不规范用语。
2.注册单元划分的原则和实例
刺激器用体内电极的注册单元原则上以产品的使用形式、作用部位、性能指标作为划分依据。
2.1产品使用形式不同的刺激器用体内电极应划分为不同的注册单元。如一次性使用刺激器用体内电极和重复使用刺激器用体内电极应划分为不同的注册单元。
2.2产品作用部位不同的刺激器用体内电极应划分为不同的注册单元。如阴道电极和直肠电极应划分为不同的注册单元。
2.3主要性能指标不能覆盖、有较大差异的,应划分为不同的注册单元。
(二)综述资料
1.概述
描述申报产品的名称及其确定依据、管理类别和分类编码、适用范围等相关信息。如适用,描述有关申报产品的背景信息概述或特别细节,如:申报产品的历史概述、历次提交的信息,与其他经批准上市产品的关系等。
2.产品描述
2.1工作原理
刺激器用体内电极一般不具备单独的临床功能,它放置于患者体内,临床上配合主机用于盆底肌功能的评估和康复训练。
刺激器用体内电极通常可具备采集生物反馈信号功能,患者主动收缩和放松时盆底肌群会产生肌电信号,肌电信号通过连接线反馈至主机,主机针对采集传输的肌电信号进行分析处理,用于评估患者的盆底肌状态。
主机可发出≤1000Hz的电刺激信号,并通过连接线传导至电极作用于患者,从而完成对盆底肌功能的康复训练。
2.2产品的结构和组成
2 .2.1刺激器用体内电极一般由基体、导电部分、电极线组成。
刺激器用体内电极按作用部位可分为阴道电极、直肠电极,如图所示。
图1 阴道电极
图2 直肠电极
阴道电极按通道数可分为单通道电极和双通道电极,如图所示。
单通道电极具有1对导电电极片,一般对整个盆底肌功能进行评估或康复训练。双通道电极具有2对导电电极片,配合具有对称性评估功能模块的主机使用,可分别评估阴道左右壁的肌肉生理功能状态差异,从而针对患侧进行精准治疗。这里所说的患侧指的是肌肉生理功能受损的一侧。
图3 单通道电极
图4 双通道电极
2.2.2组成单元结构/功能描述
2.2.2.1基体:电极基体用于包裹电极导电部分及导电部分与电极线的连接部分,电极基体一般为塑料或其他高分子材料。
2.2.2.2电极线:主要用于主机与电极导电部分之间的连接,将人体局部的肌电信号由电极导电部分传导至主机,同时将主机的电刺激信号传导至电极导电部分,作用于人体自然腔道。
2.2.2.3导电部分:盆底肌肉收缩和放松时产生的肌电信号,通过电极的导电部分经电极线传导至主机,同时将主机发出的电刺激信号经过电极线传导至电极的导电部分,经导电部分将电刺激信号传导至盆底肌肉,形成对盆底肌肉的电刺激。
2.3型号规格
对于存在多种型号规格的产品,应当明确各型号规格的区别。应当采用对比表或带有说明性文字的图片、图表,描述各种型号规格的结构组成(或配置)、功能、产品特征和导电部分尺寸等技术参数内容。
2.4包装说明
2.4.1说明刺激器用体内电极的包装信息。如刺激器用体内电极为无菌形式提供,应当说明其无菌屏障系统的信息;如神经和肌肉刺激器用体内电极具有微生物限度要求,应当说明保持其微生物限度的包装信息;说明如何确保最终使用者可清晰地辨识包装的完整性。
2.4.2若使用者在进行灭菌前需要包装,应当提供正确包装的信息(如材料、成分和尺寸等)。
2.5研发历程、与同类和/或前代产品的参考和比较
综述同类产品/前代产品的现状及发展趋势,描述本次申报产品与已上市同类产品/前代产品的创新点、相似点和不同点,建议以列表的方式表述,比较的项目应至少包括产品名称、型号规格、工作原理、结构组成、导电材质、使用形式、使用部位及导通电阻等关键的性能指标。
3.适用范围和禁忌证
3.1适用范围
适用范围可表述为:在医疗机构中与适配的神经和肌肉刺激器主机或生物反馈治疗设备主机配合使用,在主机和治疗部位间传递信号,用于盆底肌功能的评估和康复训练。专用型刺激器用体内电极还需明确特定配合使用的设备信息,如产品名称、型号规格、生产商信息等。
3.2预期使用环境
刺激器用体内电极通常在医疗机构中、由专业医务人员操作使用,申请人应当明确可能影响其安全性和有效性的环境条件,如温度、湿度、压力、移动、振动、海拔等。
3.3适用人群
与主机适用人群一致。
3.4禁忌证
禁忌证包括但不限于以下内容:
严重认知障碍患者;
恶性肿瘤患者;
癫痫患者;
孕妇;
植入式电子装置(例如心脏起搏器);
急性化脓炎症、出血倾向、血栓性静脉炎、活动性肺结核、治疗部位有金属异物的患者;
材质过敏人群;
电极接触表面局部黏膜破损等;
参考配合使用的主机的禁忌证内容。
4.产品的不良事件历史记录
申请人在风险分析时应关注同品种医疗器械产品的不良事件历史记录。
查询FDA产品全生命周期数据库(TPLC Database)和国家药品评价中心网站的医疗器械不良事件信息通报和警戒快讯,与刺激器用体内电极相关的器械故障分别为电极开裂、漏电流、连接处弯曲、信号不稳定、无信号传输等。对于患者的不良影响包含:晕厥、抽搐、红斑、异物感、疼痛、引起皮肤过敏、肌肉痉挛等。
5.其他需要说明的内容
应说明与主机组合使用的方式、存在的物理电气连接方式、明确特定配合使用的设备信息等。
(三)非临床资料
1.产品风险管理资料
申请人参照GB/T 42062《医疗器械 风险管理对医疗器械的应用》中的规定,并结合产品本身的特点对产品风险进行全生命周期的管理。风险管理活动要贯穿产品设计、生产、上市后使用及产品处理的整个生命周期。风险管理报告可包含风险分析、风险评价、风险控制、风险监测,应符合有关要求,审查要点包括:
1.1是否正确识别医疗器械预期用途和与安全有关特征;
1.2是否系统识别正常和故障两种条件下的可预见危险(源);
1.3是否利用风险管理计划中规定的可接受性准则,对风险进行评价并进行风险控制,也包括综合剩余风险的可接受性评价。
附表给出了产品常见的风险要素及示例。由于不同产品的工作原理、结构组成、性能指标存在差异,所以这些风险要素并不是全部,申请人还应根据产品特点确定其他风险并进行有效控制。
2.医疗器械安全和性能基本原则清单
说明产品符合《医疗器械安全和性能基本原则清单》各项适用要求所采用的方法,以及证明其符合性的文件。对于不适用的各项要求,应当说明理由。
3.产品技术要求
3.1产品适用的相关标准
下列标准可以应用于本文件。
表1 产品适用的相关标准
GB 9706.1 《医用电气设备 第1部分:基本安全和基本性能的通用要求》 YY 9706.102 《医用电气设备 第1-2部分:基本安全和基本性能的通用要求 并列标准:电磁兼容 要求和试验》 YY 9706.210 《医用电气设备 第2-10部分:神经和肌肉刺激器的基本安全和基本性能专用要求》 YY 9706.240 《医用电气设备 第2-40部分:肌电及诱发反应设备的基本安全和基本性能专用要求》 GB/T 16886.1 《医疗器械生物学评价 第1部分:风险管理过程中的评价与试验》 GB/T 16886.5 《医疗器械生物学评价 第5部分:体外细胞毒性试验》 GB/T 16886.7 《医疗器械生物学评价 第7部分:环氧乙烷灭菌残留量》 GB/T 16886.10 《医疗器械生物学评价 第10部分:刺激与皮肤致敏试验》 YY/T 0868 《神经和肌肉刺激器用电极》 YY/T 1095 肌电生物反馈仪 上述标准包括了产品技术要求中经常涉及到的通用标准和方法标准。可根据产品的特点增加相关要求。
产品引用标准的审查可以分两步来进行。首先对引用标准的齐全性、适宜性和准确性来进行审查。此时,应注意标准编号、标准名称是否完整规范,年代号是否有效。
其次是对引用标准的采纳情况进行审查。即所引用的标准中适用的条款要求是否在产品技术要求中进行实质性的条款引用。这种引用通常采用两种方式:文字表述繁多、内容复杂的可以直接引用标准及条文号;文字比较简单的可以直接引述具体要求。
3.2产品技术要求
注册申请人应按照《医疗器械产品技术要求编写指导原则》编写产品技术要求。
本条款给出需要考虑的产品主要技术指标,如有附加功能,注册申请人应采用相应的标准,具体可结合注册申请人自身的技术能力,参考相应的国家标准、行业标准。注册申请人如不采用以下条款(包括国家标准、行业标准要求),应当说明理由。
3.2.1尺寸规格
应规定电极导电部分尺寸规格和电极连接线尺寸规格的具体数值,其误差应不超过标称值的±5%。
3.2.2性能
3.2.2.1导通电阻
应规定电极的导电阻抗范围,并在随机文件中声称相关数值。
3.2.2.2隔离电阻(绝缘阻抗)
应根据产品实际,规定其限值,应大于10 MΩ。
3.2.2.3无菌
无菌包装的电极应经过已确认过的灭菌过程使产品无菌。
3.2.2.4环氧乙烷残留量
采用环氧乙烷灭菌的电极,其环氧乙烷残留量应不大于10μg/g。
3.2.2.5微生物
一次性使用非无菌包装电极的细菌菌落总数应不大于20cfu/g,大肠菌群、致病性化脓菌和真菌菌落不得检出。
3.2.3外观
电极外观应平整光洁,修边整齐,导电部分颜色应均匀。
3.2.4安全要求
应符合GB 9706.1、YY 9706.102、YY 9706.210、YY 9706.240的要求。
4.产品检验报告
4.1注册申请人应提供产品检验报告,产品检验报告应符合国务院药品监督管理部门的要求,可以是医疗器械注册申请人的自检报告,也可以是委托具有医疗器械检验资质的医疗器械检验机构出具的检验报告。
4.2典型产品应是同一注册单元内能够代表本单元内其他产品安全性和有效性的产品,应考虑功能最齐全、结构最复杂、风险最高的产品,并提交典型性声明。
4.3注册单元内各种型号产品的主要安全指标、性能指标不能被某一型号产品全部涵盖时,则应选择涵盖安全指标、性能指标最多的型号作为典型产品,同时还应考虑其他产品中未被典型型号所涵盖的安全指标及性能指标。
5.研究资料
5.1化学和物理性能研究
应当提供刺激器用体内电极性能研究资料以及产品技术要求的研究和编制说明,包括功能性、安全性指标以及与质量控制相关的其他指标的确定依据,所采用的标准或方法、采用原因及理论基础。刺激器用体内电极的性能研究可参照YY/T 0868,若有不采纳的条款,应说明不适用的理由。此外建议增加以下研究内容:
5.1.1电极放置要求
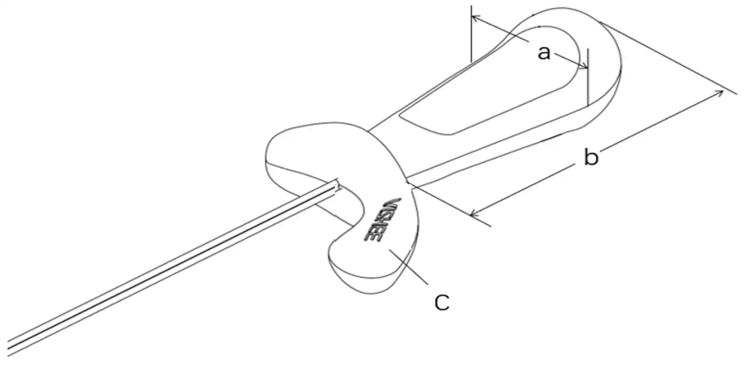
应当提供刺激器用体内电极放置示意图。提供进入体内部分结构尺寸(外径或宽度、长度)、进入人体部分应当停止的位置及相关尺寸设计的依据等,如下图图示举例,仅供参考。
图5 阴道电极
如图5所示,阴道电极放置位置为阴道,其中,a为进入阴道部分外径,b为进入阴道部分长度, c为放入阴道停止位置标识。
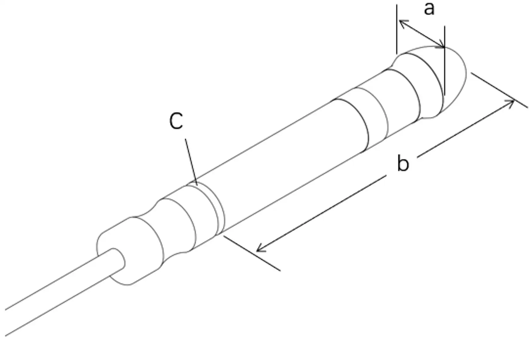
图6 直肠电极
如图6所示,直肠电极放置位置为直肠,其中a为进入直肠部分外径,b为进入直肠部分长度,c为进入直肠停止位置标识。
5.1.2联合使用
因刺激器用体内电极预期与主机联合使用实现同一预期用途,应当提供证明联合使用安全有效的研究资料,包括互联基本信息(连接类型、接口、最低性能)、联合使用风险及控制措施、联合使用上的限制、兼容性研究等。
5.1.3连接线稳定性研究
刺激器用体内电极预期与配合使用的主机连接,如电极预期可重复使用,应对连接线进行稳定性研究,可通过插拔试验、弯折试验等方式验证在最大重复使用次数或使用期限内连接线的稳定性。
5.2电气系统安全性研究
应当提供电气安全性、机械和环境保护以及电磁兼容性的研究资料,说明适用的标准以及开展的研究,并提供与主机的连接要求、隔离电阻、电介质强度等研究资料。
5.3生物学特性研究
生物相容性评价应对成品中预期与人体接触的部分而不是原材料进行评价。根据预期用途明确电极与人体接触的部位、接触性质、接触时间以及接触材料的种类。根据接触性质、接触时间、材料的种类等信息选择合适的评价方式开展评价研究。应注意,预期接触阴道,生物学评价还应包含阴道刺激;预期接触直肠,生物学评价还应包含直肠刺激。豁免生物学试验,应论证合理理由。
如需进行生物相容性试验,应按照GB/T 16886系列标准的要求开展,至少包括以下方面的要求:细胞毒性、致敏反应、阴道或直肠刺激。
5.4清洁、消毒、灭菌研究
5.4.1刺激器用体内电极如为无菌提供,可根据产品材质不同,选择合适的灭菌方法,并应当明确灭菌工艺(方法和参数)和无菌保证水平(SAL),并提供灭菌验证及确认的相关研究资料。
5.4.2刺激器用体内电极如为使用者灭菌,应当明确推荐的灭菌工艺(方法和参数)、所推荐灭菌工艺的确定依据以及验证的相关研究资料;对可耐受两次或多次灭菌的产品,应当提供产品所推荐灭菌工艺耐受性的研究资料。
5.4.3刺激器用体内电极通常为使用者消毒,根据WS/T 367,刺激器用体内电极与完整黏膜相接触,为中度危险性物品,应采用达到中水平消毒以上效果的消毒方法,并应当明确推荐的消毒工艺及工艺的确定依据,消毒工艺包含消毒剂的类型、浓度和有效的作用时间等,并应提供消毒效果及消毒耐受性的验证资料。
5.4.4若刺激器用体内电极经灭菌或消毒后可能产生残留物质,应当对灭菌或消毒后的刺激器用体内电极进行残留毒性的研究,明确残留物信息及采取的处理方法,并提供相关研究资料。
5.4.5若刺激器用体内电极以非无菌状态交付,且使用前需灭菌,应当提供证明包装能减少产品受到微生物污染的风险,且适用于生产企业规定灭菌方法的研究资料。
5.5稳定性研究
5.5.1货架有效期
应当提供货架有效期和包装研究资料,证明在货架有效期内,在注册申请人规定的运输贮存条件下,产品可保持性能功能满足使用要求,具有微生物限度要求的产品还应当符合微生物限度要求,以无菌状态交付的产品还应保持无菌状态。
5.5.2使用稳定性
重复性使用的刺激器用体内电极应参考《有源医疗器械使用期限注册技术审查指导原则》,结合清洗消毒灭菌工艺对产品的影响,提供使用稳定性/可靠性研究资料,建议在老化/疲劳及消毒灭菌耐受性试验后对电气安全、关键性能进行验证,如导通电阻、隔离电阻、电介质强度等,以此证明在生产企业规定的使用期限(或最大使用次数)内,在正常使用情况下,产品的性能功能满足使用要求。
5.5.3运输稳定性
注册申请人应当提供运输稳定性和包装研究资料,证明在生产企业规定的运输条件下,运输过程中的环境条件(例如:振动、温度和湿度的波动)不会对产品的特性和性能,包括完整性和清洁度,造成不利影响。可参考相关标准进行论述,例如可参考标准GB/T 14710,试验后需对关键性能进行验证,如导通电阻、隔离电阻、电介质强度等。
5.6可用性相关研究
可参照人因设计与可用性相关指导原则,开展可用性研究,并提供相应的研究资料。
(四)临床评价资料
该类产品不属于《免于临床评价医疗器械目录》内产品,按照《医疗器械临床评价技术指导原则》《决策是否开展医疗器械临床试验技术指导原则》等要求提供刺激器用体内电极产品的临床评价资料。采取同品种对比路径对产品进行临床评价,可参考《医疗器械临床评价等同性论证技术指导原则》等文件提供相关资料。采取临床试验路径进行临床评价,参考《医疗器械临床试验数据递交要求注册审查指导原则》《医疗器械临床试验设计指导原则》《接受医疗器械境外临床试验数据技术指导原则》等规范性文件提交相关资料。
(五)产品说明书和标签要求
产品说明书和标签的编写应符合《医疗器械说明书和标签管理规定》、GB 9706.1、GB 9706.210、GB 9706.240、YY/T 1095、YY/T 0868及相关标准的规定,一般应包括以下要求。
1.说明书
说明书应清晰、简洁,应使用中文且易于理解的简单词语,结构严整,易于阅读,尽量使用符号或图示。一般应包括以下内容:
1.1产品名称:明确产品名称、产品型号、规格及其代表的意义。
1.2给出注册人的名称、住所、联系方式及售后服务单位。
1.3给出生产企业的名称、住所、生产地址、联系方式及生产许可证书编号,委托生产的还应当标注受托企业的名称、住所、生产地址、生产许可证编号。
1.4给出医疗器械注册证编号及产品技术要求编号。
1.5产品性能:参照产品技术要求审查。
1.6主要结构组成:注册申请人应规定产品的结构组成,应有产品和配件的图示和说明。
1.7产品适用范围及禁忌证,参照临床评价资料及综述资料审查。
1.8注意事项、警示及提示内容:应按照《医疗器械说明书和标签管理规定》、YY/T 0868的要求进行审查。
1.9安装和使用说明:注册申请人应明确产品的使用方法。
1.10保养及维护方法:注册申请人应给出产品维护和保养及定期检查的方法;若有可由用户自行排除的故障,则应说明故障的种类和产生的原因及排除方法等。
1.11运输条件:注册申请人应根据产品特性,明确运输方法及条件。
1.12储存条件:注册申请人应根据产品特性,明确储存环境要求。
1.13应明确生产日期、使用期限及在预期使用及维护条件下的定期检查时间。
1.14应明确产品配件清单,包括配件、附属品、损耗品更换周期及更换方法的说明。
1.15应参照相关国家标准及行业标准中的规定,给出产品标签所用的图形、符号、缩写等内容的解释。
1.16清洁消毒或灭菌方法:注册申请人应根据其产品情况列出产品的清洁消毒或灭菌的方法,参照研究资料审查。
1.17明确说明书的编制和修订日期。
1.18按照YY/T 0868和YY/T 1095中的要求提供相关信息。
1.19除上述要求外,应在说明书中明确以下信息:产品在使用前确认是否与设备适配,并列明适配主机的信息;刺激器用体内电极应为专人专用,避免交叉感染;治疗部位有伤口时应避免使用;首次使用时,产品需在包装完好的情况下方可正常使用;电极线插口严禁接触液体,否则会导致接触不良;其他特殊使用说明。
产品说明书的内容均应有明确的来源,与综述资料、研究资料等注册申报资料的内容保持一致。说明书中涉及技术内容且前述注册申报资料中未包含的,建议提交相应验证资料。
2.标签
刺激器用体内电极产品的标签应符合《医疗器械说明书和标签管理规定》、GB9706.1、YY/T 0868、GB9706.210、GB9706.240、YY/T 0466.1及相关标准的要求。
刺激器用体内电极产品的标签因位置或者大小受限而无法全部标明上述内容的,至少应当标注产品名称、型号、规格、生产日期和使用期限或者失效日期,并在标签中明确“其他内容详见说明书”,如使用的符号没有现有的标准,应该在刺激器用体内电极产品的相关文件中对这些符号进行说明。
(六)质量管理体系文件
1.生产工艺过程及过程控制点
应当根据刺激器用体内电极的实际情况,可以流程图的形式对生产工艺过程进行详细描述,明确产品生产的工艺过程,以及各关键工艺的控制点。注明关键工艺和特殊过程,说明过程控制点及控制标准。
2.研发和生产场地
注册申请人应当对与刺激器用体内电极有关的研制场地和生产场地情况进行概述,如地址、位置、面积、生产环境条件、生产设备、工艺装备、监视和测量装置、人员等。
三、参考文献
[1]中华人民共和国国务院.医疗器械监督管理条例:中华人民共和国国务院令第739号[Z].
[2]国家市场监督管理总局.医疗器械注册与备案管理办法:国家市场监督管理总局令第47号[Z].
[3]国家食品药品监督管理总局.医疗器械说明书和标签管理规定:国家食品药品监督管理总局令第6号[Z].
[4]国家药品监督管理局.医疗器械产品技术要求编写指导原则:国家药监局通告2022年第8号[Z].
[5]国家食品药品监督管理局.医疗器械通用名称命名规则:国家食品药品监督管理总局令第19号[Z].
[6]国家药品监督管理局.免于临床评价医疗器械目录:国家药监局通告2021年第71号[Z].
[7]国家食品药品监督管理局.医疗器械分类目录:国家食品药品监督管理总局公告2017年第104号[Z].
[8]国家药品监督管理局.医疗器械临床评价技术指导原则:国家药监局通告2021年第73号[Z].
[9]国家药品监督管理局.决策是否开展医疗器械临床试验技术指导原则:国家药监局通告2021年第73号[Z].
[10]国家药品监督管理局.医疗器械临床评价等同性论证技术指导原则:国家药监局通告2021年第73号[Z].
[11]国家药品监督管理局.医疗器械注册申报临床评价报告技术指导原则:国家药监局通告2021年第73号[Z].
[12]国家药品监督管理局.列入免于临床评价医疗器械目录产品对比说明技术指导原则:国家药监局通告2021年第73号[Z].
[13]国家药品监督管理局.有源医疗器械使用期限注册技术审查指导原则:国家药品监督管理局通告2019年第23号[Z].
[14]GB 9706.1-2020,医用电气设备 第1部分:基本安全和基本性能的通用要求[S].
[15]YY 9706.102-2021,医用电气设备 第1-2部分:基本安全和基本性能的通用要求 并列标准:电磁兼容 要求和试验[S].
[16]YY 9706.240-2021,医用电气设备 第2-40部分:肌电及诱发反应设备的基本安全和基本性能专用要求[S].
[17]YY 9706.210-2021,医用电气设备 第2-10部分:神经和肌肉刺激器的基本安全和基本性能专用要求[S].
[18]GB/T 16886.1 -2022,医疗器械生物学评价 第1部分:风险管理过程中的评价与试验[S].
[19]GB/T 16886.5-2017,医疗器械生物学评价 第5部分:体外细胞毒性试验[S].
[20]GB/T 16886.10-2017,医疗器械生物学评价 第10部分:刺激与皮肤致敏试验[S].
[21]YY/T 0868-2021,神经和肌肉刺激器用电极[S].
[22]YY/T 1095-2015,肌电生物反馈仪[S].附表
产品常见的风险要素及示例
危险(源)分类 可能的原因 造成的后果 能量危险(源) 刺激器用体内电极电流输出不准确、过量输出或者漏电。 造成人体不耐受或触电。 生物学和化学危险(源) 化学 环氧乙烷灭菌不充分、洁净室环境管控不到位。生产引入的外来有害物质未被有效去除。 环氧乙烷残留量超标。 生物污染 产品没有消毒/灭菌或消毒/灭菌未达到规定的标准。 患者接触导致感染。 交叉感染 与人体接触的部件未经清洗、消毒/灭菌。 引起患者交叉感染。 生物相容性危害 不符合生物相容性有关要求。 部分产品会引起电极放置部位表面瘙痒、红肿、或起泡。 操作危险(源) 不适当的操作。 与主机不匹配。 未考虑不同患者的尺寸差异。 导致与使用人群不匹配,引起患者不适。 对非无菌产品使用前未进行消毒/灭菌说明。 患者接触导致感染。 刺激器用体内电极使用时未与人体粘膜粘贴可靠。 影响信号的传输及采集信号的准确性。 刺激器用体内电极未放置到位或不恰当放置。 影响信号的传输及采集信号的准确性。 信息危险 刺激器用体内电极外部标记不全面、标记不正确或不能够清楚易认,以及标记不能够永久贴牢。 产品相关信息不明,导致不适当的操作。 不完整的说明书(说明书对产品预期用途、禁忌证、不良反应等描述不规范、不完整)。 导致刺激器用体内电极的非预期或超范围使用。 不适当的操作说明(电流调节强度过高或过低)。 无法达到治疗目的,强度过高会引起患者不适,有损伤风险。 功能失效
老化刺激器用体内电极使用寿命规定不明确。 电极主要元件失效可能导致产品失控,会给患者造成危险。 运输、储存环境条件规定不明确,或未按规定条件运输储存。 可能导致刺激器用体内电极损坏或不能正常工作。




