经鼻肠营养导管注册审查指导原则
该指导原则是国家药监局为规范 II 类经鼻肠营养导管(分类编码 14-05-02)注册申报而制定的核心技术审查标准。文件明确了该类产品在结构组成、物理化学性能、生物相容性评价及风险管理等方面的合规要求。对于医疗器械注册申请人而言,深入理解并落实该指导原则,是避免技术审评发补、顺利豁免临床试验并成功获批上市的必要前提。
文档下载:经鼻肠营养导管注册审查指导原则(2022年第41号)
核心要点速览
为了帮助企业快速把握重点,避免合规雷区,钦思咨询团队对该文件的核心要求进行了梳理:
- 要点一 (产品范围界定):本指导原则明确区分了经鼻肠营养导管与普通鼻饲管的监管差异。如果患者由于临床原因不适用常规管路(其合规界定可参考胃管产品注册审查指导原则),且不需要造口,则应适用本导管。企业若错误套用其他技术文件,将面临产品分类界定错误与直接退回的风险。
- 要点二 (注册单元与核心验证):带球囊与不带球囊、主要管体材料不同的产品必须划分为不同的注册单元。企业在性能验证时,不仅要关注导丝侧孔脱出、头端回退等常见失效模式,还需严谨论述在各类介质中的连续工作时间对导管物理及化学性能衰减的实际影响。
- 要点三 (临床评价与同品种比对):虽然该产品已被列入免于临床评价目录,但依然需要提供严密的产品对比资料。在对比分析中,企业可横向借鉴部分经皮肠营养导管注册的生物相容性浸提经验,特别是在涂层安全性和润滑介质兼容性验证上,确保申报资料逻辑严密、无技术盲区。
专家解读
在实际的注册中,经鼻肠营养导管的补正重灾区往往集中在接口防误接设计与涂层验证。很多企业未严格按照 YY/T 0916 系列标准进行小孔径连接件的防误接验证,或者在模拟人工胃液/肠液的浸泡试验中,忽略了润滑涂层剥落带来的潜在毒理学风险。如果不在此类高风险点上建立详实的数据支撑,产品技术要求和注册自检报告将无法通过技术审评。
此外,对于包含特殊结构(如螺旋型头部、重力锤)的型号,必须通过生理模拟模型充分验证其滑移与防打结性能,不可仅凭常规拉伸测试敷衍了事,其严谨程度甚至可对标神经血管介入器械体外模拟研究的审评尺度。建议企业在立项阶段提前与监管机构沟通,尽早消除技术路线上的合规隐患。
如果您在实际操作中遇到困难,或者需要规避注册风险,建议寻求专业的钦思咨询团队协助处理您的合规需求。
指导原则原文
经鼻肠营养导管注册审查指导原则
本指导原则旨在指导注册申请人对经鼻肠营养导管注册申报资料的准备及撰写,同时也为技术审评部门提供参考。
本指导原则是对经鼻肠营养导管的一般要求,申请人应依据产品的具体特性确定其中内容是否适用。若不适用,需具体阐述理由及相应的科学依据,并依据产品的具体特性对注册申报资料的内容进行充实和细化。
本指导原则是供注册申请人和技术审评人员使用的指导性文件,但不包括审评审批所涉及的行政事项,亦不作为法规强制执行,应在遵循相关法规的前提下使用本指导原则。如果有能够满足相关法规要求的其他方法,也可以采用,但是需要提供详细的研究资料和验证资料,应在遵循相关法规的前提下使用本指导原则。
本指导原则是在现行法规和标准体系以及当前认知水平下制定,随着法规和标准的不断完善,以及科学技术的不断发展,本指导原则相关内容也将适时进行调整。
一、适用范围
本指导原则适用于《医疗器械分类目录》中按照II类医疗器械管理14注输、护理和防护器械目录下05非血管内导(插)管项下02经鼻肠营养导管中描述的经鼻插入患者胃、十二指肠或空肠内,用于向肠内引入营养液或药液的导管,部分可实现冲洗等其他辅助功能。(本指导原则不适用于经鼻腔插至胃内,供临床鼻饲用的导管类产品。该类产品的相关注册审查请参考《鼻饲营养导管注册技术审查指导原则》)。
本指导原则所涉及的经鼻肠营养导管是指经鼻插入十二指肠或空肠,向患者输入肠内营养液的导管,部分可实现冲洗等其他辅助功能。主要用于临床上需要进行肠内营养(EN),而患者本身因胃功能不足或反流误吸风险较高等原因不宜使用胃管,且不宜采用经皮造口方式输入肠内营养的情形。
注册审查要点
(一)监管信息
注册申请人需要描述经鼻肠营养导管的产品名称、分类编码、管理类别、规格型号、结构及组成等信息。
1.申请表
1.1产品名称应符合《无源手术器械通用名称命名指导原则》,可采用《医疗器械分类目录》或发布的国家标准、行业标准上的通用名称,或以产品结构、适用范围等为依据命名,如“经鼻肠营养管”,“螺旋型鼻肠管”,“十二指肠管”等。可带有“一次性使用”等字样,如“一次性使用螺旋型鼻肠管”等。
1.2确认产品分类编码及管理类别,依据《医疗器械分类目录》,产品分类编码为14-05-02,管理类别为Ⅱ类。
2.注册单元划分
按照《医疗器械注册单元划分指导原则》的要求,注册单元划分着重考虑产品的技术原理、结构组成、性能指标及适用范围等因素。如:带球囊产品与不带球囊产品应划分为不同注册单元,主要原材料(如管体)不同应划分为不同注册单元。
3.其他信息还包括产品列表、关联文件、申报前与监管机构的联系情况和沟通记录以及符合性声明等文件。
(二)综述资料
1.概述
注册申请人应描述申报产品的名称及确定依据、管理类别、适用范围。若适用,申请人需要提供申报产品的背景信息概述。
2.产品描述
2.1工作原理
经鼻肠营养导管通常由鼻腔经食道插入胃,在胃肠蠕动的推动下滑移进入十二指肠或空肠内,或借助胃镜/十二指肠镜辅助插入十二指肠或空肠,并经X射线显影等方式确定置管位置,与相关给营养器械配合,用于向胃肠道引入营养液等,部分多腔鼻肠管还可用于胃部冲洗等。
2.2结构及组成
产品可采用TPU、聚氯乙烯、硅橡胶等材料制成,目前已上市产品常用材料为TPU。通常由头端、管体、接头、接头盖、导丝等组成。根据产品结构可分为单腔、双腔、三腔等,头端可有直插型、螺旋型、重力型、球囊等不同设计;接口有扣盖,有利于保持清洁;外壁带有数字刻度,可有效指示产品在体内的使用长度;管壁使用射线可探测材料,具有显影定位功能。
典型产品结构图示见图1、图2。
典型产品外形结构见图3、图4、图5。
图1单腔经鼻肠营养导管示意图
1——导丝接头及导丝;
2——接头;
3——接头盖固定带;
4——接头盖;
5——管体;
6——头端。
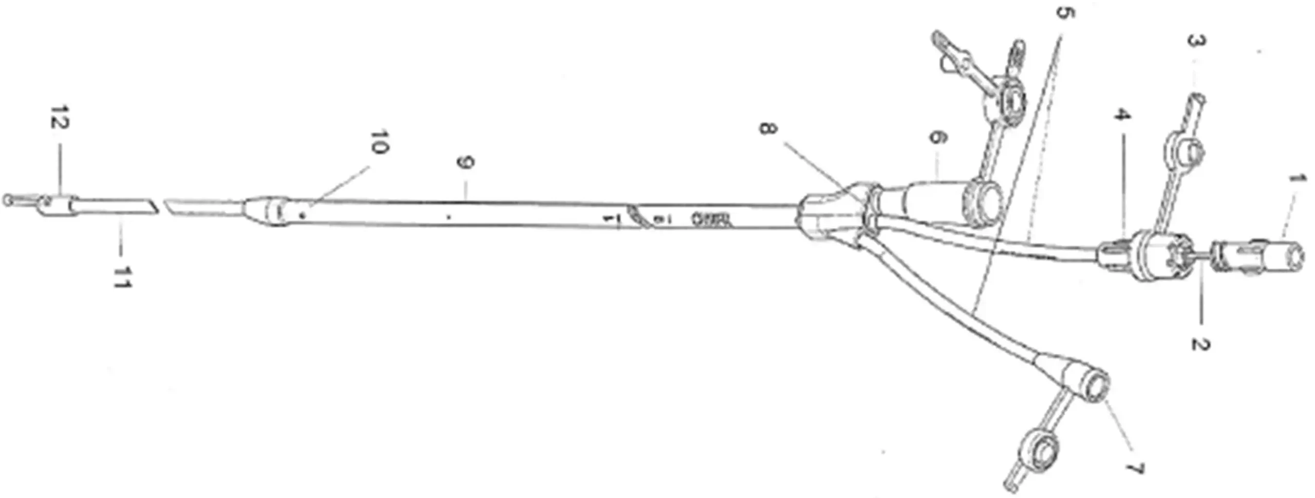
图2三腔鼻肠管示意图
1——导丝接头;
2——导丝;
3——接头盖;
4——接头(喂养腔);
5——延长管路;
6——接头(吸引腔,用于胃减压);
7——接头(压力调节腔,用于胃减压的气压控制);
8——管路上部;
9——三腔管路;
10——管孔(减压);
11——管路;
12——头端。
图3 螺旋型经鼻肠营养管示意图
图4 头端加重型经鼻肠营养管示意图
图5 三腔鼻肠管示意图
2.3型号规格
应从结构组成、原材料、功能、产品特征、性能指标等方面详细列表说明各型号规格间的异同点。应采用对比表及带有说明性文字的图片、图表对各型号规格的不同之处加以描述。应明确产品型号/规格的表述方式、划分依据。
2.4包装说明
应提供有关产品包装的信息,如描述产品包装的材料,说明包装清单和包装方式,提供包装图示等。如有配件,还应提供与该产品一起销售的配件包装情况。应当说明与灭菌方法相适应的最初包装的信息。
2.5研发历程
应阐述申请注册产品的研发背景和目的。如有参考的同类产品或前代产品,应当提供同类产品或前代产品的信息,并说明选择其作为研发参考的原因。
2.6与同类和/或前代产品的参考和比较
参考的同类产品或前代产品应当提供同类产品(国内外已上市)或前代产品(如有)的信息,阐述申请注册产品的研发背景和目的。对于同类产品,应当说明选择其作为研发参考的原因。申报产品应与已在中国境内上市的同类产品或前代产品进行对比分析,应结合《医疗器械临床评价技术指导原则》附件2申报产品与同品种医疗器械的对比项目,详述产品间差异,重点说明申报产品的新功能、新应用、新特点。
3.产品的适用范围、禁忌证
3.1适用范围
注册申请人应当明确产品的适用范围,其描述应与申报产品的性能、功能相符,并应与临床评价资料结论一致。如:用于经鼻向胃肠道引入营养液等。部分可实现冲洗等其他辅助功能。
3.2预期使用环境
明确该产品预期使用的地点,如医疗机构等。可能影响其安全性和有效性的环境条件,如温度、湿度、压力、海拔等。
3.3适用人群
适用人群建议说明目标患者人群信息,患者选择标准,重要考虑因素等。
3.4禁忌证:产品材料有过敏史者,食道下段静脉曲张患者、食道出血患者、食道梗阻患者、肠道吸收障碍患者等其他不宜采用经鼻肠营养管饲的患者。
4.申报产品上市历史
产品的不良事件历史记录:
通过国家药品不良反应监测中心及FDA-MAUDE、Pubmed数据库查询到该产品有多起疑似不良事件。经鼻肠营养导管产品在临床中出现的问题主要有:堵管、不通畅;连接处脱落;刻度标记不清、错误;打折、末端开裂;接头断裂/脱落/不匹配;石蜡油润滑管体后刻度标记消失;消化道黏膜损伤;导管拔出困难、拔出过程在患者鼻咽部发生打结等(如图6所示)。
注册申请人应跟踪整理已上市同类产品的不良事件、召回、警戒等相关信息,并将其作为风险管理的输入资料,进行风险评估和控制。
图6 导管打结的X光照片
A.导管在患者体内发生卷曲;B.导管拔出时在鼻咽部打结
(三)非临床资料
1.产品风险管理资料
1.1风险分析方法
1.1.1风险分析过程:要考虑合理的可预见的情况,包括正常使用条件下和非正常使用条件下。
1.1.2危险(源)的识别应包括:对于患者的危险(源);对于操作者的危险(源);对于环境的危险(源)。
1.1.3风险形成的初始原因应包括:人为因素(包括不合理的操作);产品结构的因素;原材料因素;综合因素;环境条件。
1.1.4风险判定及分析考虑的问题包括:产品原材料生物学危险(源);产品质量是否会导致使用中出现不正常结果;操作信息,包括警示性语言、注意事项以及使用方法的准确性;留置使用可能存在的危险(源)等。
1.2风险分析清单
经鼻肠营养导管产品的风险分析资料应符合YY/T 0316 《医疗器械 风险管理对医疗器械的应用》的有关要求。
产品已识别的风险至少包括但不仅限于以下方面:
a.原材料的生物学和化学危害:
材料或材料来源变化
原材料杂质
材料的生物相容性和可降解性能
不正确的配方
b.生产加工过程可能产生的危害:
污染
添加剂、助剂、辅剂的残留
工艺用水
生产环境洁净度
c.产品使用风险因素:
选择与使用不当
护理
感染
粘膜损伤或粘连
反流误吸
导管脱出体外
导管扭曲、打结、断裂/开裂、堵管
鼻肠管头端回退至胃部
球囊破裂、球囊不能回缩
导丝从导管侧孔脱出、导丝头端锐利、导丝难以拔出
接口误接至其他器械
重复使用
不正确的给药、药物不相容
d.灭菌过程可能产生的危害:
灭菌方式对产品不适宜,灭菌不完全等
e.不正确使用产生的危害:
未按照说明书中操作方法操作,使用过程中损伤导管等
f.产品包装可能产生的危害:
包装破损、标识不清等
申请人应对所识别的风险提出具体的降低风险的措施。降低所申报产品的风险应依据YY/T 0316 《医疗器械风险管理对医疗器械的应用》要求依次从优化设计消除风险、增加保护措施降低风险、说明书提示风险等多角度进行考虑,且不可将说明书、标签提示风险作为唯一的风险控制措施。
风险管理报告需包括风险分析、风险评价、风险控制等产品风险管理的相关资料,至少需包括产品安全特征清单、产品可预见的危害及危害分析清单【说明危害、可预见事件序列(即危害成因分析)】、危害处境和可能发生的损害之间的关系、风险评价、风险控制措施以及剩余风险评价汇总表。
2.产品技术要求及检验报告
2.1产品技术要求
应当按照《医疗器械产品技术要求编写指导原则》的规定编制产品技术要求,技术指标引用标准应当为现行有效版本。
经鼻肠营养导管基本技术性能指标包括但不限于以下内容,申请人可根据产品自身特点,参考相应的国家、行业标准制定产品技术要求,如有不适用条款(包括国家标准、行业标准要求),申请人应在申报资料中说明理由。
2.1.1外观 :经鼻肠营养导管应清洁、无异物,不应有表面缺陷和加工缺陷;导丝头端应圆钝。
2.1.2尺寸:外径、内径、长度及允差等。
应给出产品的示意图。
2.1.3连接件(拉伸性能、液体泄漏)
应符合YY 0483要求。
2.1.4拉伸性能:应符合YY 0483要求。
2.1.5管身刻度的要求。
2.1.6抗弯曲性能。
2.1.7配合性能。
2.1.8耐腐蚀性(若适用)。
2.1.9化学性能。
根据不同材料特性,由企业决定具体的化学性能要求(如:酸碱度、紫外吸光度、还原物质、蒸发残渣、重金属、过氧化物等,具体指标的选择可以参照相应的国家、行业标准及已上市同类产品情况)。用环氧乙烷灭菌的产品应规定环氧乙烷残留量的要求。
2.1.10射线可探测性(也可使用其他定位方式,如:电磁导航等)。
2.1.11产品应无菌。
2.1.12根据产品宣称的技术特点制定的其他性能要求。
耐压性(若适用);
涂层(若适用):摩擦力等;
带球囊的产品应符合YY/T 0817要求。
2.2产品检验报告
提供检验样品型号/规格的选择依据。所检验型号/规格需为能够代表本注册单元内其他型号/规格的典型产品。当申报产品包括多个型号规格,需综合考虑经鼻肠营养导管的原材料、结构组成、包装方式、灭菌方式、生产工艺和预期用途等影响因素。一个型号不能完全覆盖时,应选择其他型号进行相关性能的补充性检测。注意典型型号/规格不一定是临床常用型号/规格。
3.产品研究资料
应当从技术层面论述申报产品的原材料控制、设计、技术特征、产品性能指标及制订依据、生物相容性评价研究、灭菌工艺研究、有效期和包装研究等内容。至少应包含但不限于以下内容:
3.1化学和物理性能研究
3.1.1原材料控制
说明原材料的选择依据,明确产品的起始材料,列明产品生产过程中由起始材料至终产品所需全部材料(包括加工助剂等)的基本信息,如名称、供应商、符合的标准(如适用)等。产品组成材料可以列表的形式提供,并与产品结构图示中标识的部件一一对应。若产品结构采用分层/分段结构的,应逐层/逐段分别进行描述;若产品组成材料为混合物的,应明确各组分及其比例。若有涂层的,应列明涂层主要化学成分和比例信息,及制造过程中使用的焊接剂、粘合剂、着色剂等。
原材料应具有稳定的供货渠道以保证产品质量,所用原材料的质量控制标准和研究资料。
对于首次应用于医疗器械的新材料,应提供该材料适合用于产品预期用途的相关研究资料,可参考提供该材料适于人体使用的相关研究资料,如新材料的生物相容性研究资料,毒理学分析,可沥滤物分析,临床应用史等。
3.2产品性能研究
3.2.1设计特征
应列明经鼻肠营养导管产品各部件的名称、材料、结构和功能,提供图样,内容应足够详尽。提交各部件功能与实现功能的工作原理、途径与技术指标的制定依据与验证的详细描述。如产品具有特殊结构(如螺旋型头部、重力锤等)、组件、功能(如防反流)等,应提供相应结构特征、参数和性能分析,以及针对性设计和验证的内容。
尤其应注意接口的防误接设计和验证,建议注册申请人密切关注YY/T 0916《医用液体和气体用小孔径连接件》系列标准的要求进行设计和验证。
产品设计验证建议还包括对适用人群生理特点(如幽门窦、空肠曲等)的分析,以及针对性设计输出的内容。列出产品部件所使用全部材料(包括增塑剂、粘合剂等)名称及所用材料选择的依据,高分子材料明确供应商及牌号,金属材料明确牌号。
3.2.2物理特性
3.2.2.1各部件外观,尺寸(外径、内径、长度及允差等),管体及接头的拉伸性能、抗弯曲性、液体泄漏,接头(尺寸、无泄漏等),配合性能,耐腐蚀性等指标。所有组件应具有各自性能要求。如包含特殊组件、结构和功能,应规定组件、结构的尺寸、性能要求,如带球囊的产品应包括对球囊性能的研究等。
3.2.2.2涂层(润滑涂层)特性
如产品带有涂层,应说明采用涂层的目的,所用涂层化学成分和比例信息,并提供涂层设计相关的性能研究及验证资料。如涂层目的为降低摩擦阻力时,可参考YY/T 1536《非血管内导管表面滑动性能评价用标准试验模型》等进行评价。
注册申请人还应进行涂层的安全性评价。
3.2.3化学性能要求
根据不同材料特性及工艺条件,决定具体的化学性能研究项目,如酸碱度、紫外吸光度、还原物质、蒸发残渣、重金属、过氧化物等,用环氧乙烷灭菌的产品,需对环氧乙烷残留量进行监控。
如材料配方中使用了已知的潜在毒性物质,如特殊原材料的化学添加物、粘合剂等物质,PVC经鼻肠营养管中使用的增塑剂等,建议选择相应物质用量最大的成套使用型号,采用适宜浸提溶液,以及经过方法学验证的检测方法,检测其溶出总量,并进行人体使用安全性评估,或提供相同材料配方的同类产品的安全使用支持文件。
3.2.4其他性能要求
包括无菌要求、射线可探测性及根据产品宣称的技术特点制定的其他性能要求。
另外,建议申请人研究本产品与相应溶媒介质接触后的性能变化,如在人工胃液、人工肠液中经预期留置时长浸泡,或接触医用石蜡油等润滑介质(如适用,该资料适用时提交)后的性能变化。
3.3生物学特性研究
终产品中预期与人体直接或间接接触的部分,均需要进行生物相容性评价。
生物相容性评价研究资料需包括:
3.3.1生物相容性评价的依据、项目和方法。
3.3.2产品所用材料的描述及与人体接触的性质。
3.3.3实施或豁免生物学试验的理由和论证。
3.3.4对于现有数据或试验结果的评价。
根据GB/T 16886《医疗器械生物学评价》系列标准对经鼻肠营养导管进行生物相容性研究。考虑的生物相容性评价终点需包括:细胞毒性、致敏、刺激或皮内反应。
3.4灭菌工艺研究
3.4.1应明确灭菌工艺(方法和参数)及其选择依据和无菌保证水平(SAL),并提供灭菌确认报告。申报产品无菌保证水平(SAL)应达到1×10-6。
3.4.2残留毒性:若灭菌使用的方法容易出现残留,如环氧乙烷灭菌,应当明确残留物信息及采取的处理方法,并提供研究资料。
4.稳定性研究
(1)货架有效期研究
有效期包括产品有效期和包装有效期。产品有效期验证可采用实时老化或加速老化的研究。实时老化的研究,应从产品定型后即开始进行。实时老化的研究,应遵循极限试验和过载试验原则。加速老化研究试验的具体要求可参考《无源植入性医疗器械货架有效期申报资料指导原则(2017年修订版)》的适用部分。
对于包装的有效期验证,建议申请人提交在选择恰当的材料和包装结构合格后的最终成品包装的初始完整性和维持完整性的检测结果。在进行加速老化试验研究时应注意:产品选择的环境条件的老化机制应与宣称的运输储存条件真实下发生产品老化的机制相匹配一致。对于在加速老化研究中可能导致产品变性而不适于选择加速老化试验方法研究其包装的有效期验证,应以实时老化方法测定和验证。
(2)包装及包装完整性:在宣称的有效期内以及运输储存条件下,保持包装完整性的依据。
产品包装验证可依据GB/T 19633.1 《最终灭菌医疗器械包装 第1部分:材料、无菌屏障系统和包装系统的要求》、GB/T 19633.2 《最终灭菌医疗器械包装 第2部分:成形、密封和装配过程的确认的要求》等标准,提交产品的包装完整性验证报告。
5.其他资料
结合申报产品的特点,提交证明产品安全性、有效性的其他研究资料。
临床评价资料
根据国家药监局《关于发布免于临床评价医疗器械目录的通告》,经肠鼻营养导管分类编码为14-05-02,免于进行临床试验。
按照《医疗器械临床评价技术指导原则》,注册申请人需提交申报产品相关信息与《目录》所述内容的对比资料和申报产品与已获准境内注册的《目录》中医疗器械的对比说明。具体提交资料的要求见指导原则。
(五)产品说明书和标签样稿
产品说明书和标签的编写应符合《医疗器械说明书和标签管理规定》及相关标准的要求。同时应满足以下要求:
1.根据临床评价资料等有关技术文件,明确产品的适用范围、适用人群;
2.对置管方法及相应操作步骤进行详细说明;
3.对置管位置的判断方法进行说明;
4.对日常护理的要求,如冲管、鼻部及口腔护理等进行说明;
5.对接口适配的要求进行说明;
6.对产品允许留置人体的时间进行说明;
7.带球囊的产品应标记标称容积;
8.应提示对产品材料有过敏史者禁用,以及可能产生过敏的情况;
9.应提示一次性使用,用后销毁,包装如有破损,严禁使用;
10.应提示灭菌方式;
11.置管过程需要使用润滑介质时,应说明推荐使用的润滑介质,并警示避免使用的润滑介质;如,乳胶材质带球囊的产品,应避免使用液体石蜡等石油基质润滑剂;
12.应列出相应禁忌证;
13.应列出适用于申报产品的警示信息和注意事项。警告中包括器械相关的严重不良反应或潜在的安全危害,并且还应包含可能的后果。
(六)质量管理体系文件
经鼻肠营养导管的质量管理体系文件应符合《医疗器械生产质量管理规范》的要求,并按《医疗器械注册申报资料要求及说明》提交资料。详述产品的生产过程,提供生产工艺流程图,注明关键工艺和特殊工艺,说明过程控制点。明确对生产加工过程使用的添加剂、粘合剂等具有潜在毒性或限量使用的物质的控制情况。
三、参考文献
[1]GB 18278.1,医疗保健产品灭菌 湿热 第1部分:医疗器械灭菌过程的开发、确认和常规控制要求[S].
[2]GB 18279.1,医疗保健产品灭菌 环氧乙烷 第1部分:医疗器械灭菌过程的开发、确认和常规控制的要求[S].
[3]GB/T 18279.2,医疗保健产品的灭菌 环氧乙烷 第2部分:GB 18279.1应用指南[S].
[4]GB 18280.1,医疗器械保健产品灭菌 辐射 第1部分:医疗器械灭菌过程的开发、确认和常规控制要求[S].
[5]GB 18280.2,医疗保健产品灭菌 辐射 第2部分:建立灭菌剂量[S].
[6]GB/T 18280.3,医疗保健产品灭菌 辐射 第3部分:剂量测量指南[S].
[7]GB/T 19633.1,最终灭菌医疗器械包装 第1部分:材料、无菌屏障系统和包装系统的要求[S].
[8]GB/T 19633.2,最终灭菌医疗器械包装第2部分:成形、密封和装配过程确认的要求[S].
[9]GB/T 14233.1,医用输液、输血、注射器具检验方法 第1部分:化学分析方法[S].
[10]GB/T 14233.2,医用输液、输血、注射器具检验方法 第2部分:生物学试验方法[S].
[11]GB/T 16886.1,医疗器械生物学评价 第1部分:风险管理过程中的评价与试验[S].
[12]GB/T 16886.5 ,医疗器械生物学评价 第5部分:体外细胞毒性试验[S].
[13]GB/T 16886.7,医疗器械生物学评价 第7部分:环氧乙烷灭菌残留量[S].
[14]GB/T 16886.10,医疗器械生物学评价 第10部分:刺激与皮肤致敏试验[S].
[15]YY 0483,一次性使用肠营养导管、肠给养器及其连接件 设计与试验方法[S].
[16]YY/T 0586,医用高分子制品X射线不透性试验[S].
[17]YY/T 0916.1,医用液体和气体用小孔径连接件 第1部分:通用要求[S].
[18]YY/T 0916.20,医用液体和气体用小孔径连接件 第20部分:通用试验方法[S].
[19]YY/T 0817,带定位球囊的肠营养导管物理性能要求及试验方法[S].
[20]YY/T 0313,医用高分子产品 包装和制造商提供信息的要求[S].
[21]YY/T 0316,医疗器械 风险管理对医疗器械的应用[S].
[22]YY 0450.1,一次性使用无菌血管内导管辅件 第1部分:导引器械[S].
[23]YY/T 0466.1,医疗器械用于医疗器械标签、标记和提供信息的符号 第1部分:通用要求[S].
[24]YY/T 0615.1,标示“无菌”医疗器械的要求 第1部分:最终灭菌医疗器械的要求[S].
[25]YY/T 0681.1,无菌医疗器械包装试验方法 第1部分:加速老化试验指南[S].
[26]YY/T 0698.1,最终灭菌医疗器械包装材料 第1部分:吸塑包装共挤塑料膜 要求和试验方法[S].
[27]国家药典委员会.中华人民共和国药典[M].北京:中国医药科技出版社, 2020.
[28]FDA, CDRH. Safety Considerations to Mitigate the Risks of Misconnections with Small-bore Connectors Intended for Enteral Applications.
[EB/OL].https://www.fda.gov/regulatory-information/search-fda-guidance-documents/safety-considerations-mitigate-risks-misconnections-small-bore-connectors-intended-enteral, 2015-02-11.
or[EB/OL].https://www.fda.gov/media/83412/download,2015-02-1.





