呼吸系统过滤器注册审查指导原则

什么是《呼吸系统过滤器注册审查指导原则》?
本指导原则明确了第二类医疗器械呼吸系统过滤器(BSF)的注册申报要求。核心解决该类产品在结构组成、性能要求(如过滤效率、压降)、生物相容性及临床评价路径上的合规标准,为企业在产品设计开发及技术文档编写阶段提供明确指南,大幅降低在产品技术要求及临床文件审查环节被退回的风险。

Microsoft Word图标,用于提醒访问者页面或文章中有可下载文档,以更好的服务需要呼吸系统过滤器注册审查、医疗器械注册及医疗临床试验咨询的客户 文档下载:呼吸系统过滤器注册审查指导原则(2023年第22号)

核心要点速览

为了帮助企业快速把握重点,避免合规雷区,钦思咨询团队对该文件的核心要求进行了梳理:

  • 要点一 (适用范围与分类定位):明确划定产品适用于麻醉、呼吸设备及肺功能仪配套,管理类别为Ⅱ类。若涉及组合类呼吸辅助器械,其审评逻辑与高流量呼吸治疗设备注册的要求存在交叉参考价值,适用范围描述不准将直接导致分类界定错误和注册方向偏离。
  • 要点二 (技术指标与差异化验证):强制要求明确过滤作用、效率及压降等关键指标。必须结合成人与儿童等不同患者群体的潮气量差异制定性能指标,若未进行“最差情形”的差异化检验,检验报告将无法覆盖注册单元内所有型号。
  • 要点三 (临床评价的路径优选):已被列入《免于临床评价医疗器械目录》的常规BSF产品可通过同品种对比豁免临床。相较于软性接触镜临床评价等高风险产品的繁杂流程,此路径能大幅节省周期。但若使用创新材质,则仍需按指引补充确切的临床验证数据。

专家解读

在实际的呼吸系统过滤器申报经验中,我们发现众多企业在“灭菌与残留物研究”及“非临床性能验证”环节频频踩坑。过滤介质(如聚丙烯复合材料)由于自身结构特性,极易吸附环氧乙烷(EO)。如果在研发阶段没有充分验证解析时间和残留物接受标准,技术审评时必将面临严厉的质询与发回补充。此外,对于声称具备病毒或细菌过滤功能的产品,不仅要提供检验报告,还必须附带严密的方法学依据及理论基础,确保检验的可操作性和可重现性。

医疗器械的合规是一个全生命周期管理的闭环。拿证仅是产品上市的第一步,后续的体系核查、以及企业在办理医疗器械经营许可时对效期和储存条件的合规承诺,都要求研发阶段的数据必须扎实。特别是当未来发生医疗器械生产地址变更时,如果在首次注册时产品技术要求和工艺参数定得过于僵化,将导致极高的重新评估成本和变更风险。

如果您在实际操作中遇到困难,或者需要规避注册风险,建议寻求专业的钦思咨询团队协助处理您的合规需求。


指导原则原文

呼吸系统过滤器注册审查指导原则

本指导原则旨在指导注册申请人对呼吸系统过滤器(Breathing system filter,简称BSF)产品注册申报资料的准备及撰写,同时也为技术审评部门提供参考。

本指导原则是对呼吸系统过滤器产品的一般要求,申请人应依据具体产品的特性对注册申报资料的内容是否适用。若不适用,需具体阐述其理由及相应的科学依据,并依据产品的具体特性对注册申报资料的内容进行充实和细化。

本指导原则是供注册申请人和技术审评人员使用的指导性文件,但不包括审评审批所涉及的行政事项,亦不作为法规强制执行,应在遵循相关法规的前提下使用本指导原则。如果有能够满足相关法规要求的其他方法,也可以采用,但是需要提供详细的研究资料和验证资料。

本指导原则是在现行法规和标准体系以及当前认知水平下制定的,随着法规和标准的不断完善,以及科学技术的不断发展,本指导原则相关内容也将进行适时的调整。

一、适用范围

本指导原则适用的呼吸系统过滤器通常由壳体和滤芯组成,包含一个进气口和一个出气口,可有若干气体采样口和密封盖,一般为无菌供应,一次性使用。该类产品与麻醉和呼吸设备和肺功能仪相配套,供降低患者吸入或呼出颗粒性物质(包括微生物)的数量用。

二、注册审查要点

(一)监管信息

1.产品名称

产品名称应符合《医疗器械通用名称命名指导原则》的要求,也可参考《医疗器械分类目录》《免于临床评价医疗器械目录》中的名称。如呼吸系统过滤器、呼吸气体过滤器、一次性使用呼吸气体过滤器、麻醉呼吸过滤器等。根据产品一次性使用或者灭菌情况,产品名称中可带有“一次性使用”或“无菌”字样。

2.分类代码

呼吸系统过滤器在《医疗器械分类目录》中管理类别为Ⅱ类,分类编码为08-05-03。

3.注册单元划分

注册单元划分参照《医疗器械注册单元划分指导原则》的要求,原则上以产品的技术原理、结构组成、性能指标、适用范围为划分依据。

产品结构组成或加工处理方式不同而导致产品性能指标不同时,原则上划分为不同注册单元。如过滤介质不同而导致产品性能指标不同时,建议划分为不同注册单元。

产品结构组成或加工处理方式不同而导致产品适用范围不同时,原则上划分为不同的注册单元。如产品无菌提供与非无菌提供而导致产品适用范围不同时,建议划分为不同注册单元。

4.产品列表

以表格形式列出拟申报产品的型号、规格、结构及组成,以及每个型号规格的标识(如型号或部件的编号,器械唯一标识等)和描述说明(如材质等)。

5.既往沟通记录

在产品申报前,如果申请人与监管机构针对申报产品以会议形式进行了沟通,或者申报产品与既往注册申报相关。应提交相关沟通记录。

(二)综述资料

1.产品的结构和组成

产品通常由上盖、过滤介质、下盖、辅助端口(如有)、护帽(如有)等组成。

应列表明确所有部件的材质/CAS号、材料牌号/商品名及符合的标准等信息。

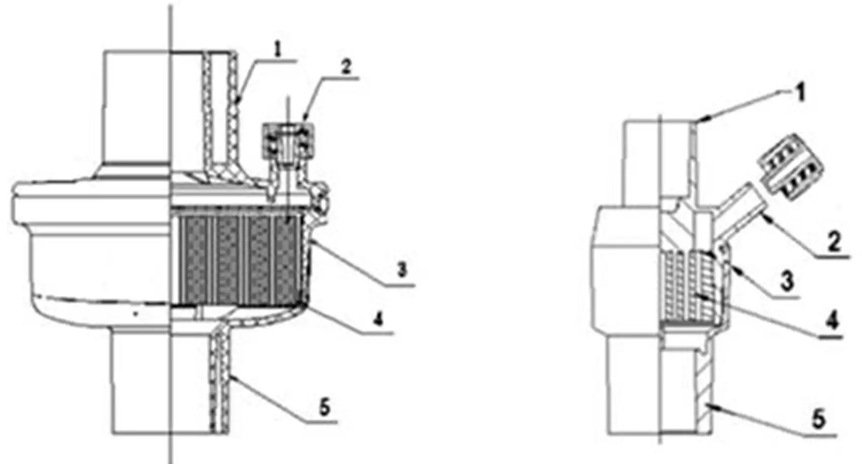
图1 呼吸系统过滤器注册审查相关结构

图1

1-机器端口;2-辅助端口;3-外壳;4-过滤介质;5-患者端口

图2 呼吸系统过滤器注册审查原理部件

图2

1-患者端口;2-外壳;3-过滤介质;4 -机器端口

2.产品工作原理

呼吸道中的病原微生物主要以水分为载体,呼吸系统过滤器中的过滤介质(过滤膜)可使用聚丙烯复合材料等制成,疏水性能好且孔径小,呼吸系统过滤器的机器端口与患者端口的两端存在压力差,过滤介质中的滤孔,可对气体中的微粒(包括微生物)过滤,防止空气中悬浮的细菌及病毒通过,允许水蒸气通过,但不允许液态水通过。

呼吸系统过滤器的过滤原理主要为拦截效应、惯性效应、扩散效应、静电效应。

拦截效应:当较大粒子沿着流线运动到纤维表面,较大粒子被过滤材料机械筛滤作用拦截而沉积下来,原理示意图如图3所示;惯性效应:当粒子质量较大或者速度较大,在流线拐弯时,粒子由于惯性作用脱离流线撞击到滤材表面,因吸附力停留在撞击表面,原理示意图如图4所示;扩散效应:由于气体分子热运动对粒子的碰撞而产生的粒子的布朗运动,粒子布朗运动扩散位移到过滤纤维中被吸附,对于越小的粒子越显著,原理示意图如图5所示;静电吸附效应:粒子被过滤材料的静电作用吸附而沉积下来,原理示意图如图6所示。

图3 呼吸系统过滤器注册审查直接拦截示意图

图3 直接拦截示意图

图4 呼吸系统过滤器注册审查惯性冲撞示意图

图4 惯性冲撞示意图

图5 呼吸系统过滤器注册审查扩散拦截示意图

图5 扩散拦截示意图

图6 呼吸系统过滤器注册审查静电吸附示意图

图6 静电吸附示意图

产品具有过滤功能,应说明过滤作用、过滤效率及其原理。

3.包装说明

申报产品需要描述注册单元内所有产品组成的包装信息(初包装、中包装、大包装),说明包装形式、包装材料、包装工艺、包装原材料供应商等信息,提供包装图示;产品的初包装应与灭菌方法相适应(如适用)。

4.研发历程

阐述申请注册产品的研发背景和目的。如有参考的同类产品或前代产品,应当提供同类产品或前代产品的信息,并说明选择其作为研发参考的原因。

注册申请人需列表比较说明本次申报产品与已上市同类或前代产品(如有)的相同点和不同点,比较的项目包括产品名称、工作原理、原材料、结构特点、性能指标、适用范围、生产工艺、灭菌方式、有效期,以及与市场上同类产品在技术、设计和应用方面的比较资料等。

5.产品适用范围、禁忌证

5.1产品适用范围

与麻醉和呼吸设备和肺功能仪相配套,供降低患者吸入或呼出颗粒性物质(包括微生物)的数量用。

非无菌提供的呼吸系统过滤器应根据其预期使用环境(如普通病房、诊室等)及配套使用仪器确定适用范围。

5.2产品禁忌证

5.2.1呼吸道有大量泡沫或黏稠分泌物,或有呼吸道脱水、咳血症、呼吸道损伤的患者禁用。

5.2.2对于严重肺功能不全等不能耐受通路阻力增加者禁用。

5.2.3对本产品材料过敏者禁用。

6.产品不良事件历史记录

注册申请人在风险分析时应关注同品种医疗器械产品的不良事件历史记录,收集包括注册申请人建立的投诉和不良事件资料库,以及各国监管机构发布的不良事件资料库中相应不良事件数据,并对不良事件进行分析,如国家药品监督管理局发布的《医疗器械不良事件信息通报》《医疗器械警戒快讯》,美国食品药品管理局注册申请人与用户机构设备使用数据库(MAUDE),英国医疗器械警报(MDA)等。

(三)非临床资料

1.产品风险管理资料

1.1在对风险的判定及分析中,要考虑合理的可预见的情况,它们包括:正常使用条件下;非正常使用条件下;

1.2风险判定及分析应包括:对于患者的危害;对于操作者的危害;对于环境的危害;

1.3风险形成的初始原因应包括:人为因素包括不合理的操作;产品结构、原材料、综合危害;环境条件;

1.4风险判定及分析考虑的问题包括:产品原材料生物学危害;产品质量是否会导致使用中出现不正常结果;操作信息,包括警示性语言、注意事项以及使用方法的准确性;使用可能存在的危害等。

1.5风险分析清单

呼吸系统过滤器产品的风险管理报告应符合GB/T 42062《医疗器械 风险管理对医疗器械的应用》的有关要求,审查要点包括:

1.5.1产品安全性特征判定是否准确(依据YY/T 1437);

1.5.2危害分析是否全面(依据GB/T 42062附录C);

1.5.3风险可接收准则,降低风险的措施及采取措施后风险的可接收程度,是否有新的风险产生。

根据GB/T 42062《医疗器械 风险管理对医疗器械的应用》附录C对“呼吸系统过滤器产品”已知或可预见的风险进行判定,产品在进行风险分析时至少应包括以下的主要危害(附件),企业还应根据自身产品特点确定其他危害。针对产品的各项风险,企业应采取应对措施,确保风险降到可接受的程度。

2.产品技术要求

申请人应根据产品的实际情况,拟定产品技术要求应符合《医疗器械注册与备案管理办法》等相关规定,应不低于产品适用的强制性国家标准/行业标准,按照《医疗器械产品技术要求编写指导原则》要求编写。

本条款给出呼吸系统过滤器的产品基本技术性能指标,但并未给出定量要求,企业可参考相应的国家标准、行业标准,如YY/T 0753.1《麻醉和呼吸用呼吸系统过滤器 第1部分:评价过滤性能的盐试验方法》、YY/T 0753.2《麻醉和呼吸用呼吸系统过滤器 第2部分:非过滤方面》,根据企业自身产品的技术特点制定相应的技术要求。

2.1物理性能

2.1.1外观

应整洁,色泽应均匀,应无伤痕、划痕、裂纹、飞边及锋棱。

2.1.2尺寸

2.1.2.1呼吸系统过滤器机器端口和患者端口应符合相关标准(如YY/T 1040.1);若有辅助端口(如用于气体采样、监护和压力检测等连接的端口),该端口应不能与符合YY/T 1040.1和YY/T 1040.2中15mm或22mm的圆锥接头相连接,该端口应提供一个封堵装置。

2.1.2.2企业应根据实际情况制定尺寸要求。(如适用)

2.1.3压降

2.1.4气体泄漏

2.1.5过滤效率(滤除率)

2.1.6顺应性

2.1.7细菌过滤性能(如声称具有细菌过滤性能),检验方法可参考YY 0469附录B。

2.1.8病毒过滤性能(如声称具有病毒过滤性能),检验方法可参考YY/T 1497。

2.1.9死腔体积(如适用)

2.2化学性能

2.2.1根据不同材料特性,由企业对化学性能提出要求。

2.2.2用环氧乙烷灭菌的产品应规定环氧乙烷残留量的要求。

2.3微生物要求

非无菌供应一次性使用的产品,若产品使用前不需要进行消毒、灭菌处理,应对其微生物限度进行评价,同时可参考《中华人民共和国药典》中微生物限度检查法进行检测。

2.4无菌

若以无菌形式提供,产品应无菌。

2.5若产品包含成人与儿童规格,应结合产品功能、结构制定相关性能要求(如不同气体流量条件下的压降要求)。

3.产品检验及典型性样品

3.1注册申请人应提供符合医疗器械申报注册法规文件要求的检测报告。

3.2同一注册单元中的典型产品是指能够代表本注册单元内其他产品安全性和有效性的产品。其功能最齐全、结构最复杂、风险最高。

若一个型号不能覆盖,除选择典型型号进行全性能检验外,还应选择其他型号进行差异性检验。不同型号规格(成人、儿童等)需要差异性检验。

产品检验时,“压降”应根据不同适用人群覆盖不同潮气量、气体流量。

4.研究资料

4.1产品性能研究

应详述产品技术要求中主要性能指标及检验方法的确定依据,提供采用的原因及理论基础,提供涉及的研究性资料、文献资料和标准文本。如适用的国家标准、行业标准中有不采纳的条款,应将不采纳的条款及其理由予以阐明。

如有不适用的性能指标,申请人应说明理由,如死腔体积。

如声称具有细菌过滤性能、病毒过滤性能,其检验方法需提供相应的方法学依据及理论基础,同时保证检验方法具有可操作性和可重现性,必要时可附相应图示进行说明。

4.2生物相容性研究

应描述呼吸系统过滤器与人体间接接触部件的材料,以及接触的性质和时间,参照GB/T 16886系列标准或《医疗器械生物学评价和审查指南》、YY/T 1778.1的要求对其进行生物相容性评价。

4.3灭菌工艺及洁净控制工艺研究

4.3.1灭菌研究:明确产品的灭菌工艺(方法和参数)和无菌保证水平(SAL)。可参考GB 18278《医疗保健产品灭菌 湿热》系列标准、GB 18279《医疗保健产品灭菌 环氧乙烷》系列标准、GB 18280《医疗保健产品灭菌 辐射》系列标准等,提供灭菌研究资料。若灭菌使用的方法容易出现残留,如环氧乙烷灭菌,应当明确残留物信息及采取的具体处理措施,参考《医疗器械生物学评价第7部分:环氧乙烷灭菌残留量》(GB/T 16886.7)等,明确残留物(如环氧乙烷)残留量接受标准及其确定依据,并提供相关研究资料。

如果灭菌方式会导致有害物质残留,应进行相关评价。如过滤介质等易吸附环氧乙烷,环氧乙烷残留量超标会产生相应危害。

4.3.2洁净提供的非无菌呼吸系统过滤器,应明确微生物限度,微生物控制方法、环境及管理要求及检验方法可结合申报产品的危险性程度和临床使用最不利情况。可参照GB 15982《医院消毒卫生标准》及《中华人民共和国药典》提交研究资料。

5.产品稳定性研究

5.1产品有效期和包装研究情况可通过实时老化或加速老化试验获得。加速老化试验及产品包装验证可参照相关系列标准,如YY/T 0681、YY/T 0698、GB/T 19633等。

5.2申请人应提交包装研究资料,依据有关国内、国际标准进行(如GB/T 19633.1等)对包装进行分析研究和评价。

需要提供运输稳定性研究资料,证明在宣称的有效期内,规定的运输条件下,运输过程中的环境条件不会对医疗器械的造成不利影响。

6.加工助剂的研究

对生产加工过程中所使用的所有辅剂、助剂、粘合剂等添加剂均应说明使用剂量,提交对残留量、可挥发物质总量的控制措施和接受标准以及安全性验证报告。

7.其他资料

对于列入《免于临床评价医疗器械目录》(以下简称《目录》)的呼吸系统过滤器,应当按照《列入免于临床评价医疗器械目录产品对比说明技术指导原则》提交资料。

提交的资料应能证明申报产品与《目录》所述的产品具有基本等同性。若无法证明申报产品与《目录》所述的产品具有基本等同性,则应开展临床评价。

(四)临床评价资料

若无法证明申报产品与《目录》产品具有等同性,则应按照《医疗器械临床评价技术审查指导原则》其他路径开展相应工作,提供符合要求的临床评价资料。

(五)产品说明书和标签样稿

1.产品说明书、标签和包装标识的编写要求应符合《医疗器械说明书和标签管理规定》、YY/T 0466.1《医疗器械用于医疗器械标签、标记和提供信息的符号 第1部分:通用要求》和YY/T 0753.2《麻醉和呼吸用呼吸系统过滤器 第2部分:非过滤方面》的要求。

2.产品说明书还应包括以下内容:

2.1使用前,应检查包装是否完好,如有破损禁止使用。

2.2打开包装,检查包装内器械是否完好无损。

2.3将本产品患者端与通气类器械连接,另一端连接呼吸管路,尽量靠近患者。

2.4废弃产品应根据医院或当地卫生主管部门的相关规定,由有资质或经授权的机构进行无害化处理。

2.5仅限专业人员使用,使用时严格按照操作规程要求进行。

2.6使用过程中应加强呼吸道管理和监测,监测呼吸节律、频率、血氧饱和度及心率,警惕缺氧和窒息表现。出现异常时,应检查呼吸系统过滤器是否通畅,阻塞时应及时更换,或根据患者病情依照医院制定的应急预案进行处理。

2.7使用过程中还需密切关注患者呼吸道情况,一旦发现痰液黏稠或结痂的情况,应采取主动加湿或其他措施。

2.8预期与呼吸管路等配合使用,必须保证配合使用的器械满足标准接口要求。

2.9切勿给呼吸系统过滤器添加水分。

2.10提供的信息可包括接头标准、重量、内部容积、最长推荐使用时间,其他信息可参照产品适用标准(YY/T 0753.2第7章、第8章)的要求。

2.11如发生过敏,应立即停止使用,并及时采取相应的处置措施。

2.12应注明“一次性使用”字样或符号,禁止重复使用。

2.13应明确产品预期使用环境。

(六)质量管理体系文件

呼吸系统过滤器的质量管理体系文件应符合《医疗器械生产质量管理规范》的要求,并按《医疗器械注册申报资料要求及说明》提交资料。

三、参考文献

[1]中华人民共和国国务院.医疗器械监督管理条例:中华人民共和国国务院令第739号[Z].

[2]国家市场监督管理总局.医疗器械注册与备案管理办法:国家市场监督管理总局令第47号[Z].

[3]国家食品药品监督管理局.医疗器械说明书和标签管理规定:国家食品药品监督管理总局令第6号[Z].

[4]国家药品监督管理局.医疗器械产品技术要求编写指导原则:国家药监局通告2022年第8号[Z].

[5]国家药品监督管理局.医疗器械注册申报资料要求和批准证明文件格式:国家药监局公告2021年第121号[Z].

[6]国家食品药品监督管理局.医疗器械分类目录:国家食品药品监督管理总局公告2017年第104号[Z].

[7]国家药品监督管理局.医疗器械临床评价技术指导原则等5项技术指导原则:国家药监局通告2021年第73号[Z].

[8]GB 18279.1,医疗保健产品灭菌环氧乙烷第1部分:医疗器械灭菌过程的开发、确认和常规控制的要求[S].

[9]GB/T 18279.2,医疗保健产品灭菌环氧乙烷第2部分:GB 18279.1应用指南[S].

[10]GB 18280.1,医疗保健产品灭菌辐射第1部分:医疗器械灭菌过程的开发、确认和常规控制要求[S].

[11]GB 18280.2,医疗保健产品灭菌辐射第2部分:建立灭菌剂量[S].

[12]GB/T 18280.3,医疗保健产品灭菌辐射第3部分:剂量测量指南[S].

[13]GB/T 191,包装贮运图示标志[S].

[14]GB/T 4857,包装运输包装件压力试验方法[S].

[15]GB/T 14233.1,医用输液、输血、注射器具检验方法第1部分:化学分析方法[S].

[16]GB/T 14233.2,医用输液、输血、注射器具检验方法第2部分:生物学试验方法[S].

[17]GB/T 16886.1,医疗器械生物学评价第1部分:风险管理过程中的评价与试验[S].

[18]GB/T 16886.5,医疗器械生物学评价第5部分:体外细胞毒性试验[S].

[19]GB/T 16886.7,医疗器械生物学评价第7部分:环氧乙烷灭菌残留量[S].

[20]GB/T 16886.10,医疗器械生物学评价第10部分:刺激与迟发型超敏反应试验[S].

[21]GB/T 19633.1,最终灭菌医疗器械包装第1部分:材料、无菌屏障系统和包装系统的要求[S].

[22]GB/T 19633.2,最终灭菌医疗器械包装第2部分:成形、密封和装配过程的确认的要求[S].

[23]YY/T 0313,医用高分子产品包装和制造商提供信息的要求[S].

[24]GB/T 42062,医疗器械 风险管理对医疗器械的应用[S].

[25]YY/T 0466.1,医疗器械用于医疗器械标签、标记和提供信息的符号第1部分:通用要求[S].

[26]YY/T 0681.1,无菌医疗器械包装试验方法第1部分:加速老化试验指南[S].

[27]中华人民共和国药典[S].

[28]YY/T 1040.1,麻醉和呼吸设备 圆锥接头 第1部分:锥头与锥套[S].

[29]YY/T 1040.2,麻醉和呼吸设备 圆锥接头 第2部分:螺纹承重接头[S].

[30]YY/T 0753.1,麻醉和呼吸用呼吸系统过滤器 第1部分:评价过滤性能[S].

[31]YY/T 0753.2,麻醉和呼吸用呼吸系统过滤器 第2部分:非过滤方面[S].

[32]YY/T 0321.3,一次性使用麻醉用过滤器[S].

[33]GB/T 1962.1,注射器、注射针及其他医疗器械用6%(鲁尔)圆锥接头 第1部分:通用要求[S].

[34]GB/T 1962.2,注射器、注射针及其他医疗器械6%(鲁尔)圆锥接头 第2部分:锁定接头[S].

[35]YY/T 1778.1-2021,医疗应用中呼吸气体通路生物相容性评价 第1部分:风险管理过程中的评价与试验[S].

[36]YY/T 1497-2016,医用防护口罩材料病毒过滤效率评价测试方法Phi-X174噬菌体测试方法[S].

[37]国家药品监督管理局.医疗器械通用名称命名指导原则:国家药监局通告2019年第99号[Z].

[38]国家药品监督管理局.免于临床评价医疗器械目录:国家药监局通告2021年第71号[Z].

[39]国家食品药品监督管理局.医疗器械注册单元划分指导原则:总局通告2017年第187号[Z].

[40]国家食品药品监督管理局.医疗器械生物学评价和审查指南:国家食品药品监督管理局通知2007年345号[Z].

附件

表1 产品主要危害

危害的分类危害的形成因素可能的后果
生物与化学危险生物污染生产环境控制不好。灭菌操作不严格。包装破损。使用时操作不正规。产品带菌,引起患者使用时感染。
生物不相容性增塑剂、加工助剂、环氧乙烷残留量超标。产生细胞毒性、致敏反应、急性或慢性毒性。
不正确的成分(化学成分)未按照工艺要求配料。小分子物质残留量过大。造成毒性危害。
加工工艺加工工艺控制不严格,后处理工艺控制不严格。引入有害物质,引起患者感染或造成毒性危害。
再感染和/或交叉感染使用不当、标识不清。引起局部或者交叉感染。
环境因素储存或运行偏离预定的环境条件储运条件(如温度、湿度)不符合要求。产品老化。无菌有效期缩短。
意外的机械破坏储运、使用过程中发生意外的机械性破坏。产品使用性能无法得到保证。
由于废物和/或医疗器械处置的污染使用后的产品没有按照要求集中销毁。造成环境污染或者细菌的交叉感染。
可用性不适当的标记标记不清晰、错误、没有按照要求进行标记(如无菌或非无菌)。错误使用。储存错误。产品辨别错误。非预期环境使用非无菌产品引起患者感染。
不适当的操作说明,如:与其他器械配合使用不适当;偏离使用说明;说明书关于使用说明不全面包装破损无法识别。操作要点不突出,如过滤器放置过低,导致液体流入呼吸系统过滤器。无法保证使用安全性。液体流入呼吸系统过滤器,导致气流阻力增加。
由不熟练/未经培训的人员使用操作不熟练、操作失误。导致延误或不正确治疗。
合理可预见的误用规格型号选用错误。导致无法达到满意的效果。
对一次性使用医疗器械很可能再次使用的危险(源)警告不适当造成重复使用。交叉感染。
不宜或应谨慎使用呼吸系统过滤器的情形未充分提示,如饱胃、肠梗阻、上呼吸道敏感、有哮喘病史的患者导致相关并发症的发生。咳嗽、呕吐、反流误吸、喉痉挛等。
功能性对医疗器械寿命终止缺少适当的决定没有标识产品有效期。超出灭菌有效期/使用期限的产品被使用,造成细菌感染。
不适当的包装(医疗器械的污染和/或变质)没有进行包装确认。不能确保产品无菌,从而导致出现细菌感染。
再次使用和/或不适当的再次使用产品标识没有明确只限一次性使用。出现细菌感染、交叉感染以及粘膜损伤等现象。

类似文章